lemon-mirror:
Home >> Chevrolet >> 1988 >> Sprint L3-61 1.0L >> Repair and Diagnosis >> Powertrain Management >> Computers and Control Systems >> Engine Control Module >> Testing and Inspection >> ECM Ground Circuits

ECM Ground Circuits

Fig. 24 ECM body ground identification:




Fig. 40 Engine ground location. 1987 - 88 models:




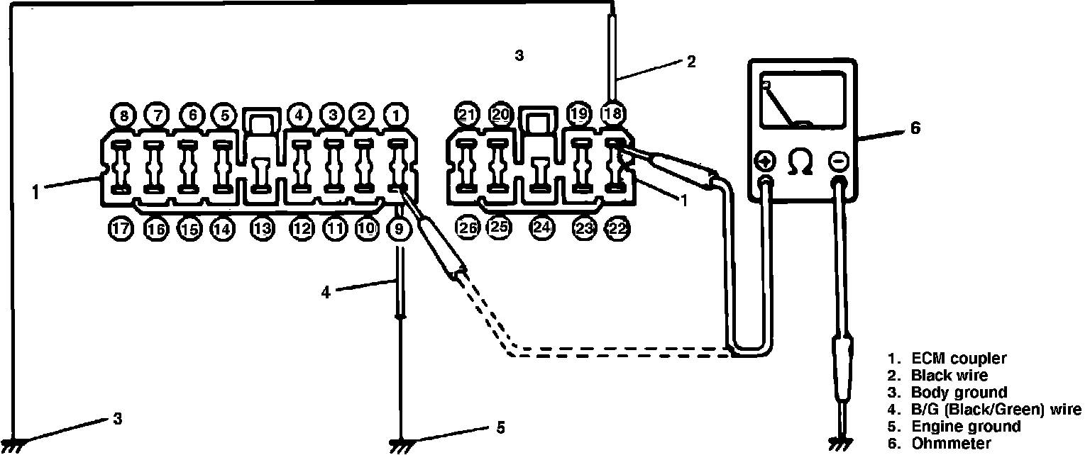
Fig. 41 Checking ECM ground circuits. 1987 - 88 models:





The ECM is grounded at both the body, Fig. 24, and transaxle, Fig. 40. The feedback system will not function if both connections are not secure. Check for proper grounding as follows:
1. Turn ignition off.
2. Disconnect ECM connector.
3. Measure resistance between terminal 18 of disconnected connector and body ground, Fig. 41. Repeat step measuring between terminal 9 and ground. ECM is properly grounded if resistance is zero ohms. If resistance is not zero, check if wiring at body and transaxle is loose or disconnected.
4. Reconnect ECM connector securely.