lemon-mirror:
Home >> Chevrolet >> 1985 >> Sprint L3-61 1.0L >> Repair and Diagnosis >> Powertrain Management >> Computers and Control Systems >> Engine Control Module >> Testing and Inspection >> ECM Ground Circuits

ECM Ground Circuits

Fig. 25 ECM transaxle ground identification:




Fig. 26 ECM installation:




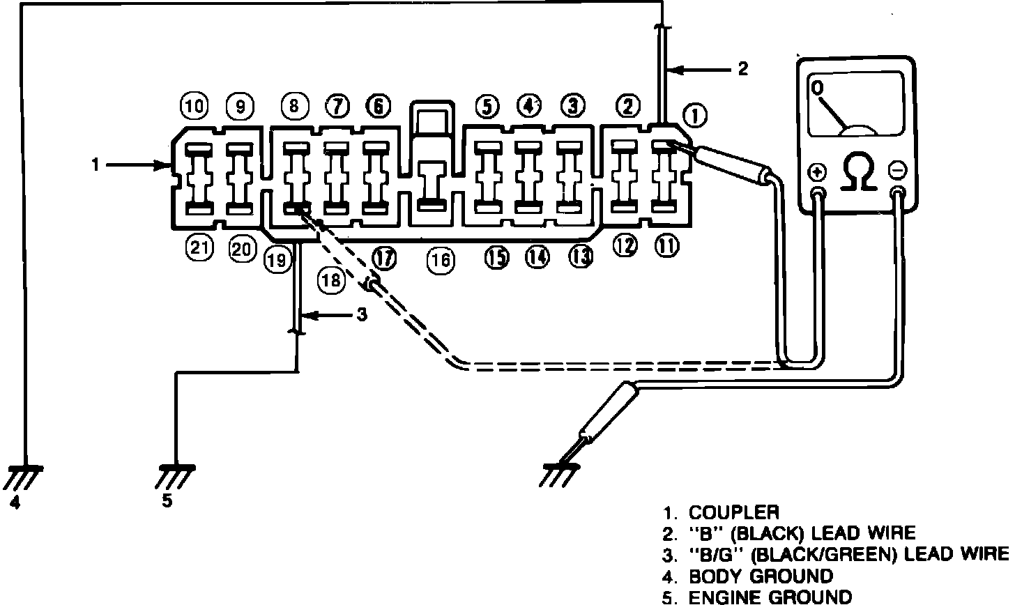
Fig. 27 ECM ground circuit test connections:





The ECM is grounded at both the body, Fig. 24, and transaxle, Fig. 25. The feedback system will not function if both connections are not secure. Check for proper grounding as follows:
1. Turn ignition off.
2. Disconnect ECM connector, Fig. 26.
3. Measure resistance between terminal 1 and body and between 19 and body, Fig. 27. ECM is properly grounded if resistance is zero ohms. If resistance is not zero, check if wiring at body, Fig. 24, and transaxle, Fig. 25, is loose or disconnected.
4. Reconnect ECM connector securely.