lemon-mirror:
Home >> Cadillac >> 2012 >> SRX FWD V6-3.6L >> Repair and Diagnosis >> Body and Frame >> Locks >> Keyless Entry >> Keyless Entry Receiver >> Locations

Keyless Entry Receiver: Locations




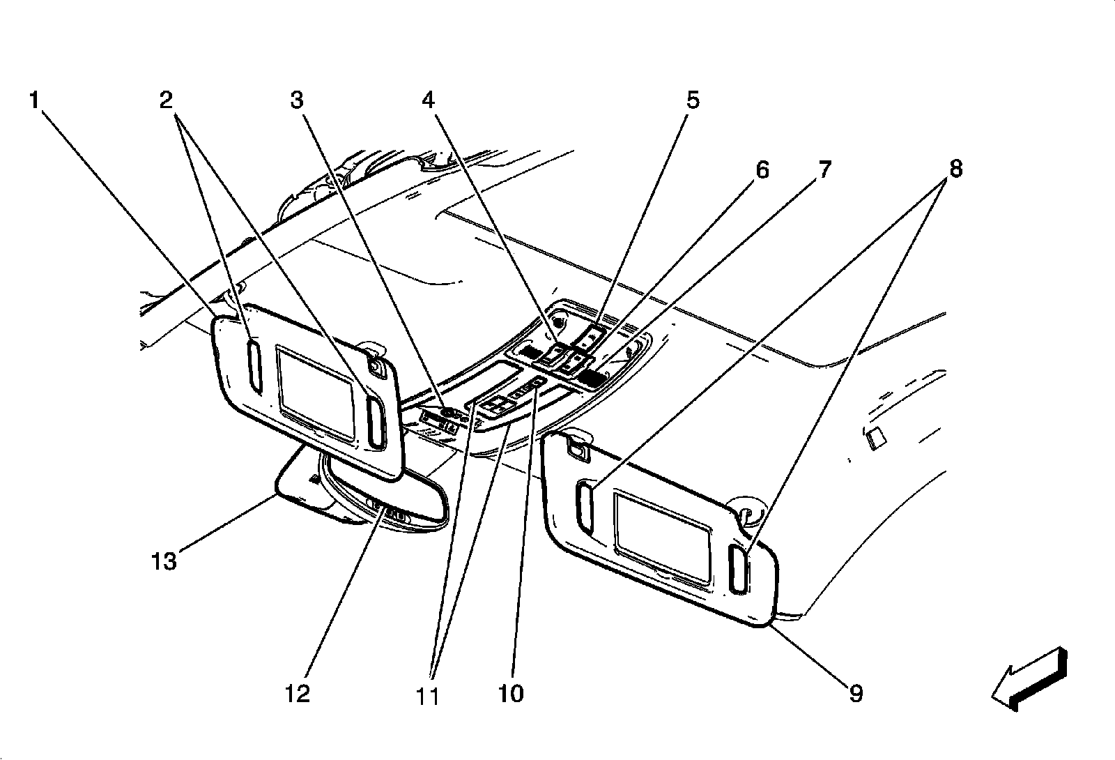
Passenger Compartment/Roof Component Views

Overhead Console Components




1 - A3L Sunshade - Left
2 - E31L Sunshade Mirror Lamp - Left
3 - S25 Garage Door Opener (UG1)
4 - S72 Sunroof Switch (3CU)
5 - S43 Ultrasonic Intrusion Sensor Disable Switch (UA2 or UTC)
6 - S90 Sunroof Sunshade Switch (3CU)
7 - B24 Cellular Phone Microphone (UE1 or WXS)
8 - E31R Sunshade Mirror Lamp - Right
9 - A3R Sunshade - Right
10 - S12 Dome Lamp Switch
11 - E37D Dome/Reading Lamps - Overhead Console
12 - A10 Inside Rearview Mirror
13 - K77 Remote Control Door Lock Receiver