lemon-mirror:
Home >> Cadillac >> 2011 >> SRX FWD V6-3.0L >> Repair and Diagnosis >> Maintenance >> Alignment >> Testing and Inspection

Alignment: Testing and Inspection




Trim Height Inspection

Trim Height Measurements

Trim height is a predetermined measurement relating to vehicle ride height. Incorrect trim heights can cause bottoming out over bumps, damage to the suspension components, and symptoms similar to wheel alignment problems. Check the trim heights when diagnosing suspension concerns and before checking the wheel alignment.

Perform the following before measuring the trim heights:

1. Set the tire pressures to the pressure shown on the certification label. Refer to Vehicle Certification, Tire Placard, Anti-Theft, and Service Parts ID Label (Vehicle Certification, Tire Placard, Anti-Theft and Service Parts ID Label).
2. Check the fuel level. Add additional weight if necessary to simulate a full tank.
3. Ensure the rear compartment is empty except for the spare tire.
4. Ensure the vehicle is on a level surface, such as an alignment rack.
5. Close the doors.
6. Close the hood.
7. All dimensions are measured vertical to the ground. Trim heights should be within 13 mm (0.5 in) to be considered correct.

Measuring the P and R Dimension





Use the following procedure to check the P and R dimensions:

1. Use your hands to lift the front bumper approximately 38 mm (1.59 in).
2. Remove your hands and allow the vehicle to lower.
3. Use your hands to jounce the front of the vehicle downward approximately 38 mm (1.59 in).
4. Remove your hands and allow the vehicle to rise.
5. The dimension P for the left and right side of the vehicle is measured from the bottom lip of the wheel opening to the ground, measured at the center line of the front wheel.
6. Compare the measurement to the specification table. Refer to Trim Height Specifications (Trim Height Specifications).
7. If the measurement is outside of the specified range, replace the front springs. Refer to Strut, Strut Component, or Spring Replacement (Front Suspension).
8. Use your hands to lift the rear bumper approximately 38 mm (1.59 in).
9. Remove your hands and allow the vehicle to lower.
10. Use your hands to jounce the rear of the vehicle downward approximately 38 mm (1.59 in).
11. The dimension R for the left and right side of the vehicle is measured from the bottom lip of the wheel opening to the ground, measured at the center line of the rear wheel.
12. Compare the measurement to the specification table. Refer to Trim Height Specifications (Trim Height Specifications).
13. If the measurement is outside of the specified range, replace the rear springs. Refer to Strut, Strut Component, or Spring Replacement (Front Suspension).

Z Height Measurement

The Z height dimension measurement determines the proper ride height for the front end of the vehicle. There is no adjustment procedure. Repair may require replacement of suspension components.

1. Lift the front bumper of the vehicle up about 38 mm (1.5 in).
2. Gently remove your hands. Let the vehicle settle.
3. Repeat this operation for a total of 3 times.




4. Measure from the pivot bolt center line down to the lower corner of the lower ball joint in order to obtain the Z height measurement.
5. Push the front bumper of the vehicle down about 38 mm (1.5 in).
6. Gently remove your hands.
7. Allow the vehicle to settle into position.
8. Repeat the jouncing operation 2 more times for a total of 3 times.
9. Measure the Z dimension.
10. The true Z height dimension number is the average of the high and the low measurements. Refer to Trim Height Specifications (Trim Height Specifications).

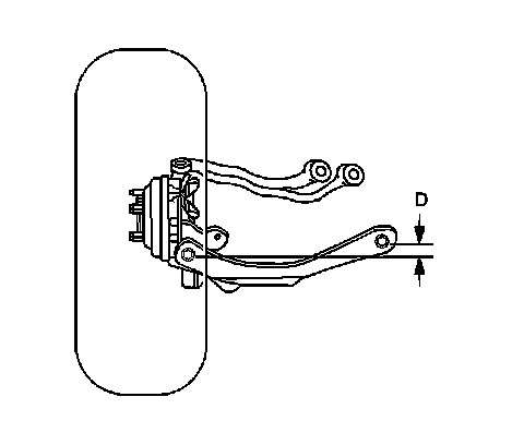
D Height Measurement

The D height dimension measurement determines the proper rear end ride height. There is no adjustment procedure. Repair may require replacement of suspension components.

1. With the vehicle on a flat surface, lift upward on the rear bumper 38 mm (1.5 in).
2. Gently remove your hands.
Allow the vehicle to settle into position.
3. Repeat the jouncing operation 2 more times for a total of 3 times.




4. Measure the vertical distance between the center line of the inboard rear lower control arm bolt and center line of the outboard rear lower control arm bolt.
5. Push the rear bumper downward to 38 mm (1.5 in).
6. Gently remove your hands.
Allow the vehicle to settle into position.
7. Repeat the jouncing operation 2 more times for a total of 3 times.
8. Measure the D height dimension.
9. The true D height dimension number is the average of the high and the low measurements. Refer to Trim Height Specifications (Trim Height Specifications).
10. If these measurements are out of specifications, inspect for the following conditions:

* Improper weight distribution
* Collision damage
* Worn or damaged suspension components