lemon-mirror:
Home >> Cadillac >> 2011 >> DTS V8-4.6L >> Repair and Diagnosis >> Powertrain Management >> Computers and Control Systems >> Transmission Position Sensor/Switch >> Locations

Transmission Position Sensor/Switch: Locations




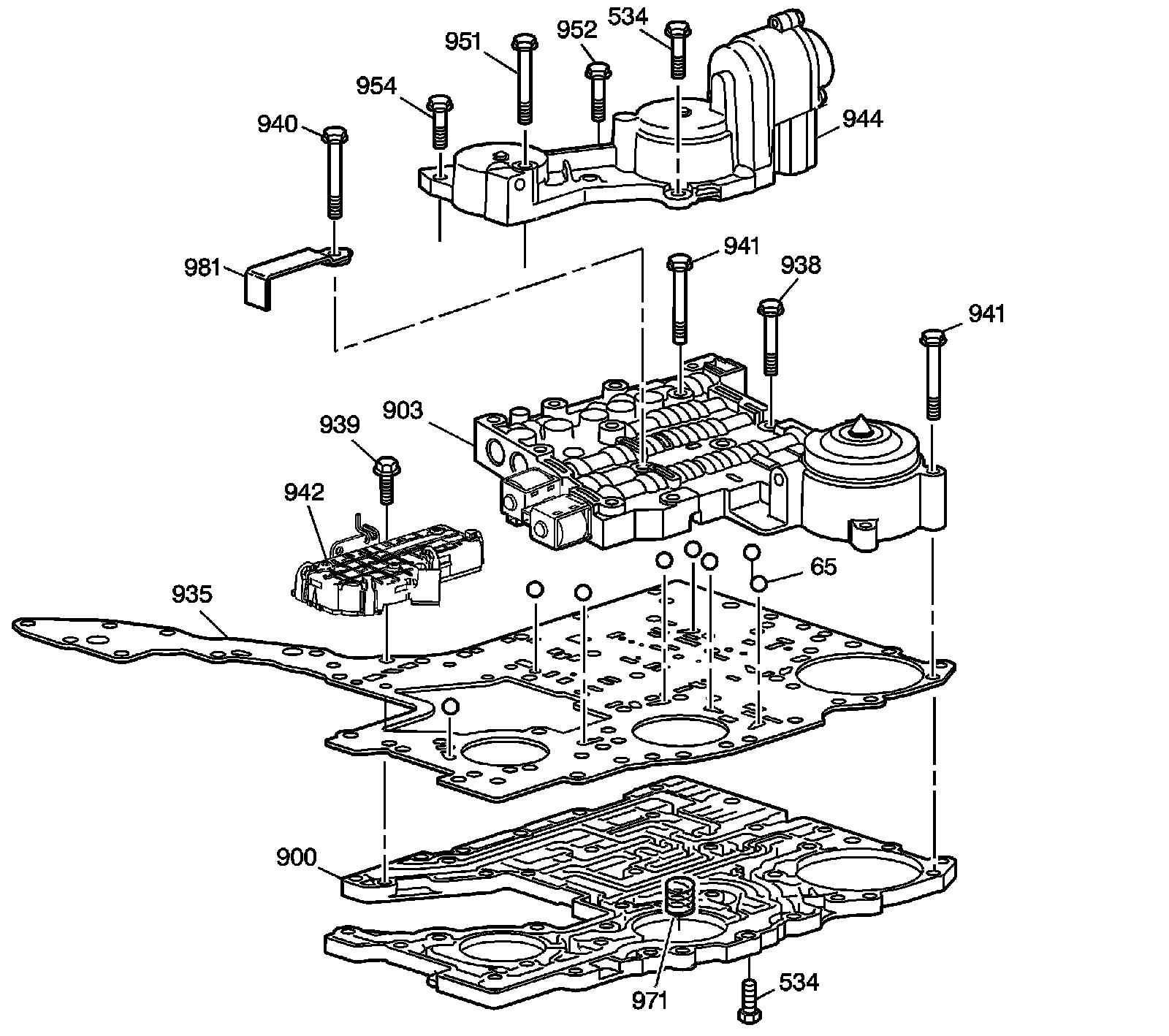
Disassembled Views

Lower Channel Plate, Control Valve Body and Accumulator Housing Assembly




65 - Checkballs (8)
534 - Channel Plate to LCVB Bolt (1, 10 mm) - Channel Plate to Accumulator Housing Bolt (3, 10 mm) - Accumulator Housing to Channel Plate Bolt (1, 10 mm)
534 - Channel Plate to LCVB Bolt (1, 10 mm) - Channel Plate to Accumulator Housing Bolt (3, 10 mm) - Accumulator Housing to Channel Plate Bolt (1, 10 mm)
900 - Lower Channel Plate
903 - Channel Plate/Control Valve and Housing Assembly
935 - Space/Gasket Plate Assembly
938 - LCVB to Channel Plate Bolt (5, 10 mm)
939 - Spacer Plate Support to Channel Plate Bolt (3, 8 mm)
940 - LCVB to Channel Plate Bolt (2, 10 mm)
941 - LCVB to Channel Plate Bolt (8, 10 mm)
941 - LCVB to Channel Plate Bolt (8, 10 mm)
942 - Internal Mode Switch (IMS)
944 - Accumulator Housing
951 - Accumulator Assembly to Channel Plate Bolt (1, 10 mm)
952 - Accumulator Assembly to Channel Plate Bolt (3, 10 mm)
954 - Accumulator Assembly to Channel Plate Bolt (1, 10 mm)
971 - 1-2 Accumulator Inner Spring Assembly
981 - Pressure Control Solenoid Valve Fluid Filter Retainer