lemon-mirror:
Home >> Cadillac >> 2008 >> STS AWD V8-4.6L >> Repair and Diagnosis >> Powertrain Management >> Computers and Control Systems >> Transmission Position Sensor/Switch >> Locations >> Disassembled Views

Disassembled Views



Disassembled Views (6L50)

Control (with Body and Valve) Valve Assembly

Control (with Body and Valve) Valve Assembly:




301 - Bolt, M5 x 36 mm
302 - Bolt, M6 x 20 mm
303 - A/Trans Input and Output Speed Sensor Assembly
304 - Control Valve Upper Body Assembly
305 - Control Valve Body Spacer (w/ Gasket) Plate Assembly
306 - Control Valve Body Ball Check Valve
307 - Control Valve Lower Body Assembly
308 - A/Trans Manual Shift Shaft Position Switch Assembly
309 - Bolt, M5 x 45 mm
310 - Bolt, M5 x 55 mm
311 - Filter Plate Assembly
312 - Bolt, M5 x 53 mm
314 - Control Solenoid (w/ Body and TCM) Valve Assembly
315 - A/Trans Manual Shaft Position Switch Wiring Harness Clip
316 - A/Trans Input and Output Speed Sensor Wiring Harness Clip



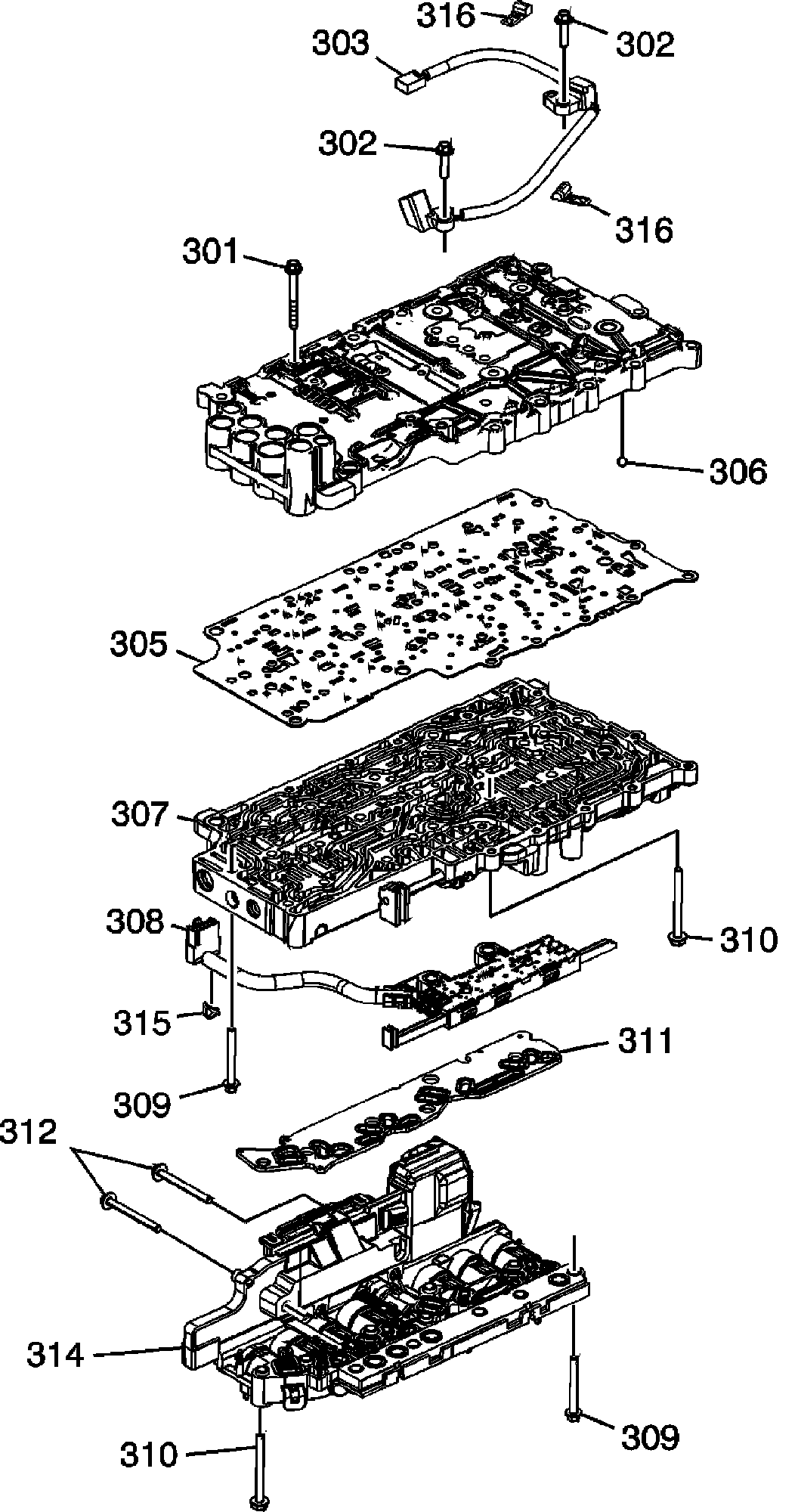
Disassembled Views (6L80)

Control (with Body and Valve) Valve Assembly

Control (with Body and Valve) Valve Assembly:




301 - Bolt, M5 x 36 mm
302 - Bolt, M6 x 20 mm
303 - A/Trans Input and Output Speed Sensor Assembly
304 - Control Valve Upper Body Assembly
305 - Control Valve Body Spacer (w/ Gasket) Plate Assembly
306 - Control Valve Body Ball Check Valve
307 - Control Valve Lower Body Assembly
308 - A/Trans Manual Shift Shaft Position Switch Assembly
309 - Bolt, M5 x 45 mm
310 - Bolt, M5 x 55 mm
311 - Filter Plate Assembly
312 - Bolt, M5 x 53 mm
314 - Control Solenoid (w/ Body and TCM) Valve Assembly
315 - A/Trans Manual Shaft Position Switch Wiring Harness Clip
316 - A/Trans Input and Output Speed Sensor Wiring Harness Clip