lemon-mirror:
Home >> Cadillac >> 2008 >> SRX AWD V8-4.6L >> Repair and Diagnosis >> Specifications >> Mechanical Specifications >> Engine >> System Specifications >> Thread Repair Specifications

Thread Repair Specifications



Thread Repair Specifications

Left Cylinder Head Camshaft Cover Face

Left Cylinder Head Camshaft Cover Face:









Left Cylinder Head Front Face

Left Cylinder Head Front Face:









Left Cylinder Head Intake Face

Left Cylinder Head Intake Face:









Left Cylinder Head Exhaust Face

Left Cylinder Head Exhaust Face:









Left Cylinder Head Rear Face

Left Cylinder Head Rear Face:









Right Cylinder Head Camshaft Cover Face

Right Cylinder Head Camshaft Cover Face:









Right Cylinder Head Front Face

Right Cylinder Head Front Face:









Right Cylinder Head Intake Face

Right Cylinder Head Intake Face:









Right Cylinder Head Exhaust Face

Right Cylinder Head Exhaust Face:









Right Cylinder Head Rear Face

Right Cylinder Head Rear Face:









Engine Block Front

Engine Block Front:









Engine Block Left Side

Engine Block Left Side:









Engine Block Right Side

Engine Block Right Side:









Engine Block Rear

Engine Block Rear:









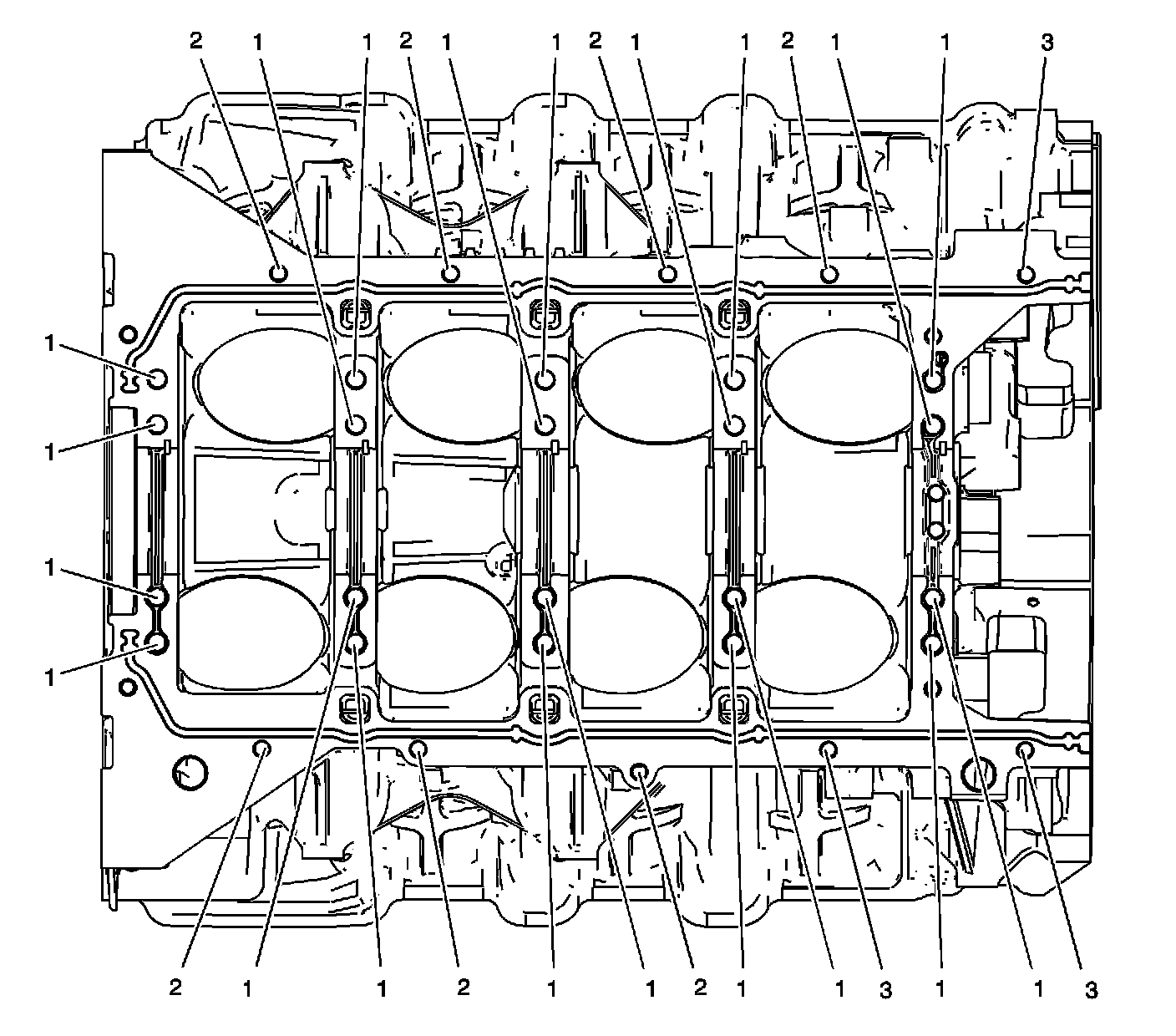
Engine Block Top

Engine Block Top:









Engine Block Left Deck Face

Engine Block Left Deck Face:









Engine Block Right Deck Face

Engine Block Right Deck Face:









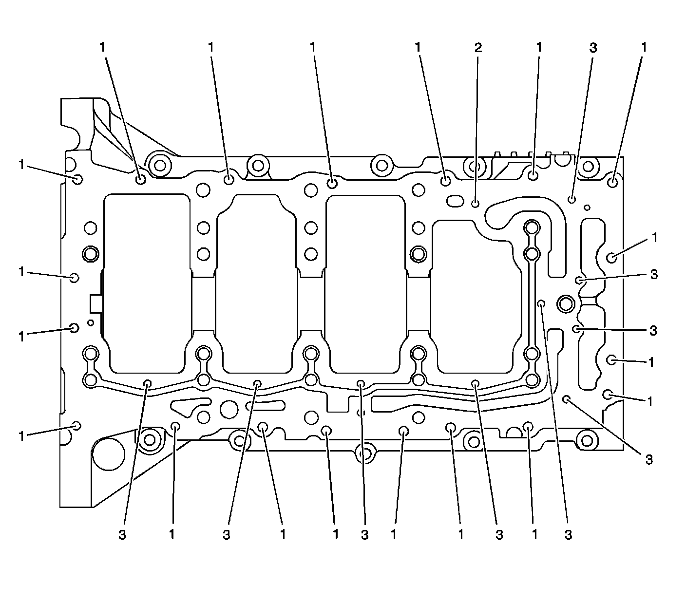
Engine Block Lower Face

Engine Block Lower Face:









Lower Crankcase Pan Face

Lower Crankcase Pan Face:









Engine Front Cover

Engine Front Cover:









Camshaft Position Actuator Housing

Camshaft Position Actuator Housing:









Camshaft Covers

Camshaft Covers:









#1 Threads are created initially when coil ground strap bolt is installed.

Oil Pan - Left

Oil Pan Left:









Oil Pan - Right

Oil Pan Right:









Oil Pan - Rear

Oil Pan - Rear: