lemon-mirror:
Home >> Cadillac >> 2007 >> STS RWD V8-4.6L >> Repair and Diagnosis >> Specifications >> Mechanical Specifications >> Engine >> System Specifications >> Thread Repair Specifications

Thread Repair Specifications



Thread Repair Specifications

Left Cylinder Head Camshaft Cover Face:




Left Cylinder Head Camshaft Cover Face:




Left Cylinder Head Front Face:




Left Cylinder Head Front Face:




Left Cylinder Head Intake Face:




Left Cylinder Head Intake Face:




Left Cylinder Head Exhaust Face:




Left Cylinder Head Exhaust Face:




Left Cylinder Head Rear Face:




Left Cylinder Head Rear Face:




Right Cylinder Head Camshaft Cover Face:




Right Cylinder Head Camshaft Cover Face:




Right Cylinder Head Front Face:




Right Cylinder Head Front Face:




Right Cylinder Head Intake Face:




Right Cylinder Head Intake Face:




Right Cylinder Head Exhaust Face:




Right Cylinder Head Exhaust Face:




Right Cylinder Head Rear Face:




Right Cylinder Head Rear Face:




Engine Block Front:




Engine Block Front:




Engine Block Left Side:




Engine Block Left Side:




Engine Block Right Side:




Engine Block Right Side:




Engine Block Rear:




Engine Block Rear:




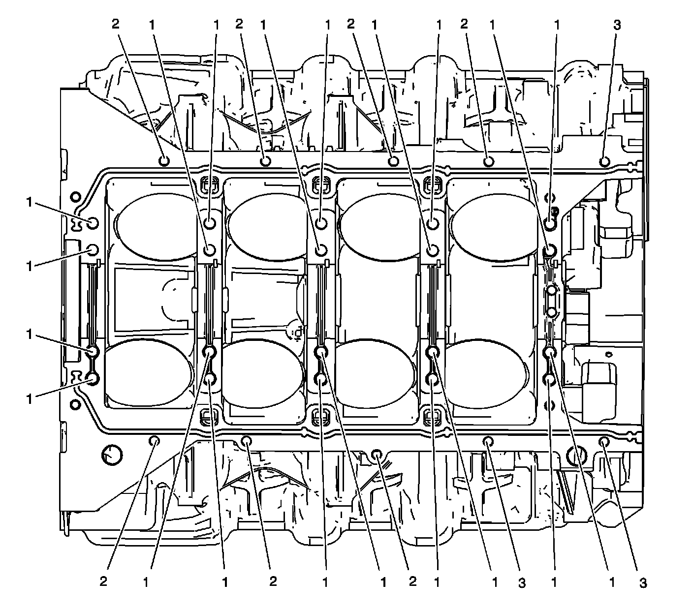
Engine Block Top:




Engine Block Top:




Engine Block Left Deck Face:




Engine Block Left Deck Face:




Engine Block Right Deck Face:




Engine Block Right Deck Face:




Engine Block Lower Face:




Engine Block Lower Face:




Lower Crankcase Pan Face:




Lower Crankcase Pan Face:




Engine Front Cover:




Engine Front Cover:




Camshaft Position Actuator Housing:




Camshaft Position Actuator Housing:




Camshaft Covers:




Camshaft Covers:





#1 Threads are created initially when coil ground strap bolt is installed.

Oil Pan Left:




Oil Pan Left:




Oil Pan Right:




Oil Pan Right:




Oil Pan - Rear:




Oil Pan - Rear: