lemon-mirror:
Home >> Cadillac >> 2007 >> SRX AWD V8-4.6L >> Repair and Diagnosis >> Powertrain Management >> Computers and Control Systems >> Body Control Module >> Diagrams

Body Control Module: Diagrams



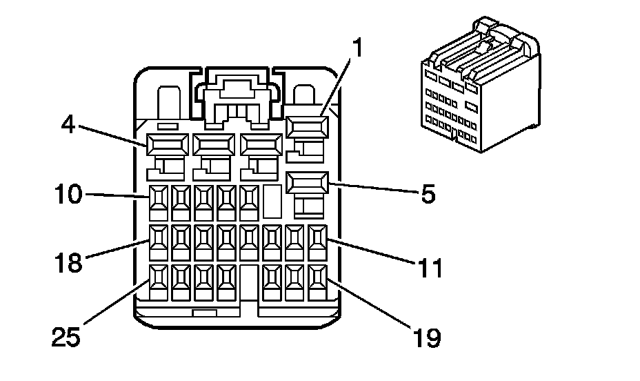
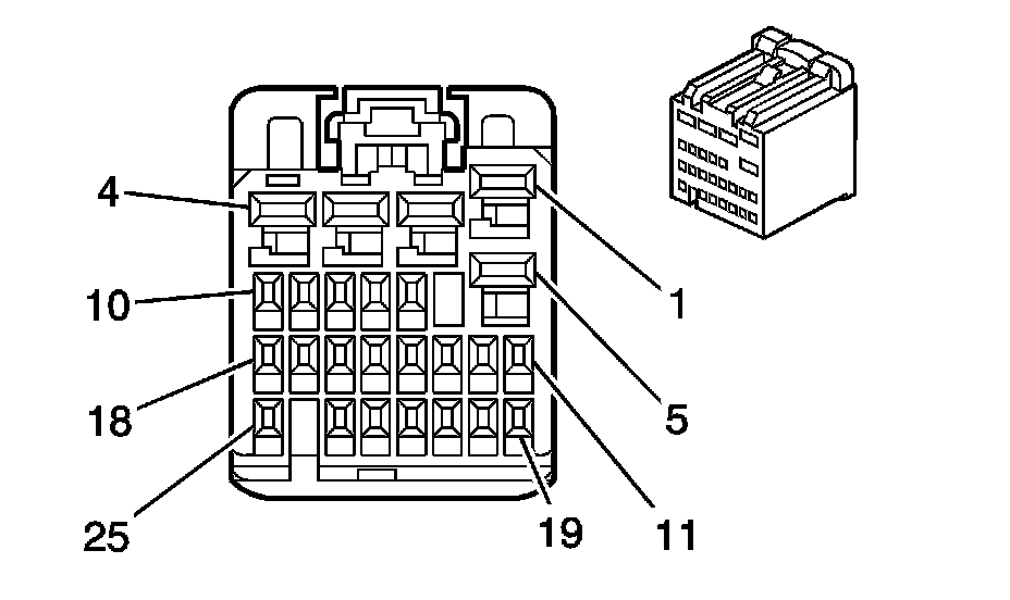
Data Communication Connector End Views

Body Control Module (BCM) C1














Body Control Module (BCM) C2














Body Control Module (BCM) C3














Body Control Module (BCM) C4














Body Control Module (BCM) C5














Body Control Module (BCM) C6














Body Control Module (BCM) C7














Rear Body Control Module (EXPORT) C1














Rear Body Control Module (RHD) C2