lemon-mirror:
Home >> Cadillac >> 2007 >> SRX AWD V8-4.6L >> Repair and Diagnosis >> Diagrams >> Connector Views >> Suspension Control Module

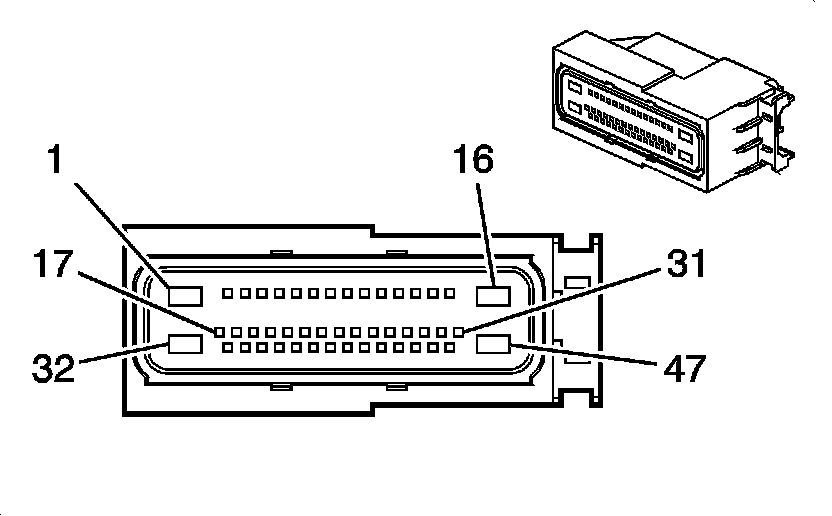
Suspension Control Module



Electronic Suspension Control Connector End Views

Electronic Suspension Control (ESC) Module:







Electronic Suspension Control (ESC) Module (F55):