lemon-mirror:
Home >> Cadillac >> 2007 >> SRX AWD V8-4.6L >> Repair and Diagnosis >> Diagrams >> Connector Views >> Power Seat Control Module

Power Seat Control Module



Power Seat Connector End Views

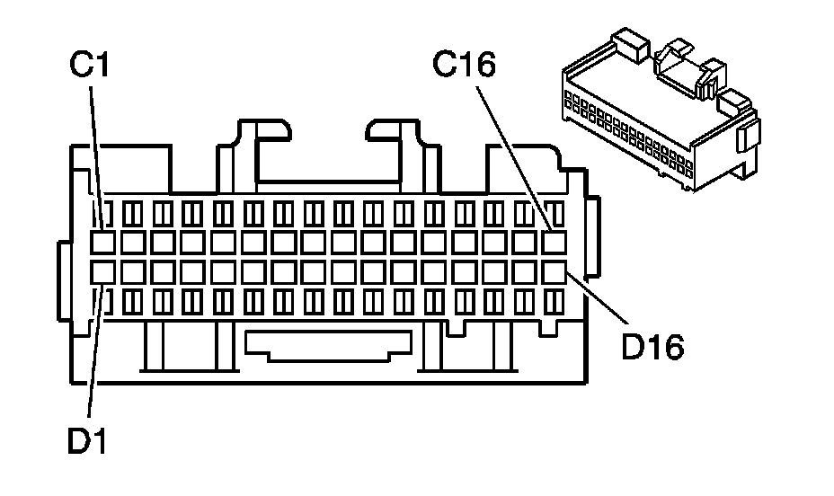
Memory Seat Module (MSM) C1 (A45)














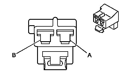
Memory Seat Module (MSM) C2 (A45)














Memory Seat Module (MSM) C3 (A45)














Memory Seat Module (MSM) C4 (A45)














Memory Seat Module (MSM) C5 (A45)














Memory Seat Module (MSM) C6 (A45)














Memory Seat Module (MSM) C7 (A45)














Rear Seat Module C1 (AMO)














Rear Seat Module C2 (AMO)














Rear Seat Module C3 (AMO)