lemon-mirror:
Home >> Cadillac >> 2007 >> SRX AWD V8-4.6L >> Repair and Diagnosis >> Diagrams >> Connector Views >> Engine Control Module

Engine Control Module



Engine Control Module Connector End Views

Engine Control Module (ECM) C1














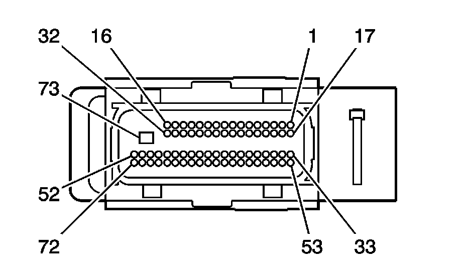
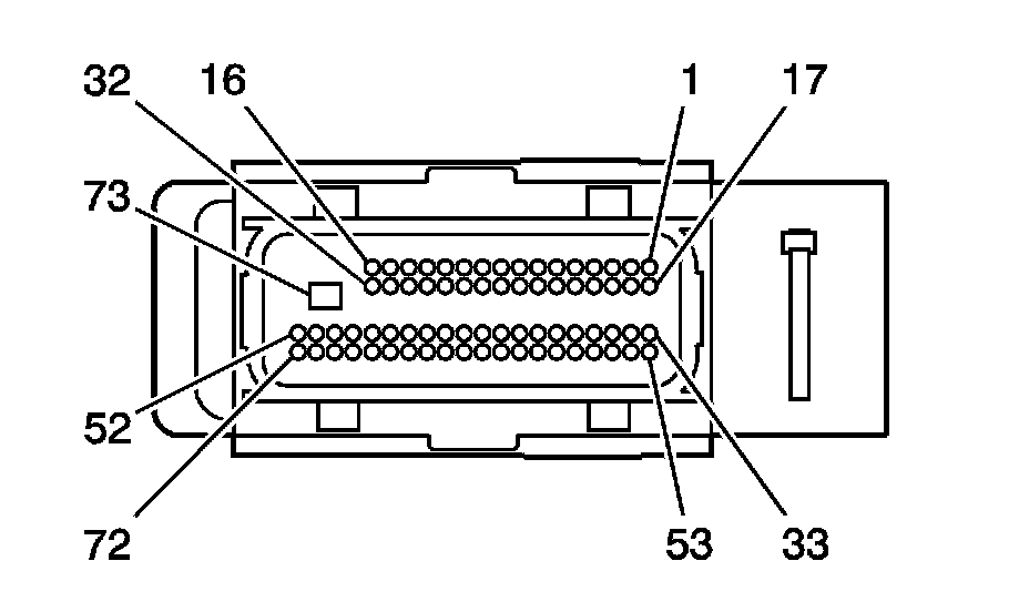
Engine Control Module (ECM) C2









Engine Control Module (ECM) C2 (Pin 1 To 46):





Engine Control Module (ECM) C2 (Pin 47 To 73):






Engine Control Module (ECM) C3