lemon-mirror:
Home >> Cadillac >> 2007 >> Escalade RWD V8-6.2L >> Repair and Diagnosis >> Specifications >> Mechanical Specifications >> Engine >> System Specifications >> Thread Repair Specifications

Thread Repair Specifications



Thread Repair Specifications

Engine Block:




Engine Block - Front/Rear Views:




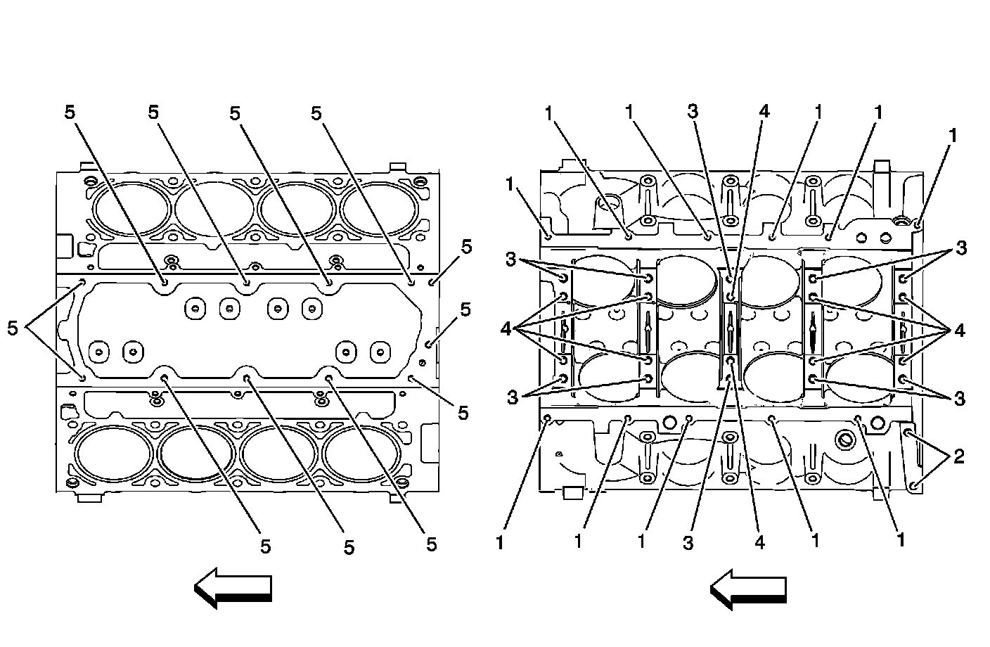
Engine Block:




Engine Block - Left/Right Side Views:




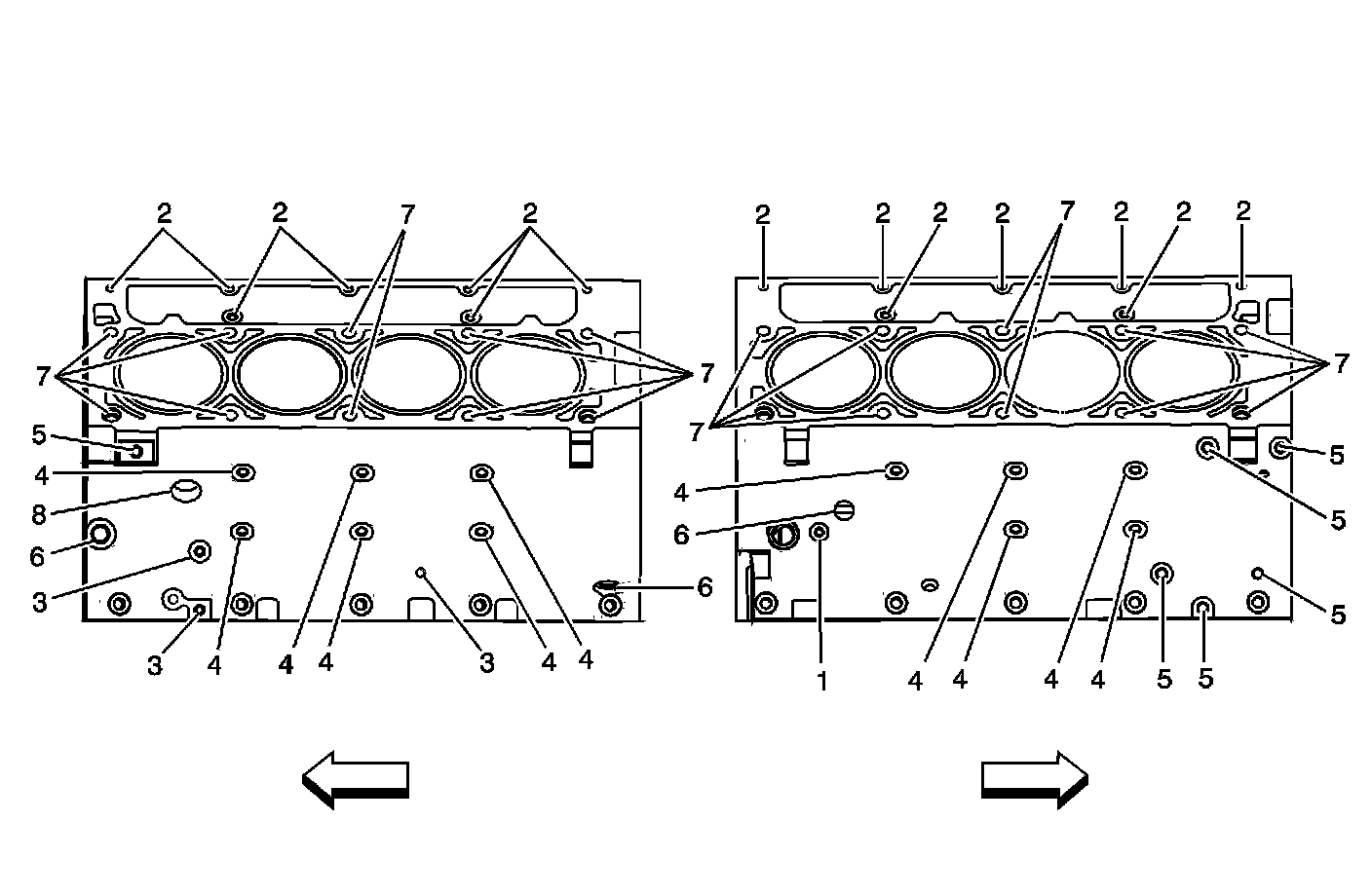
Engine Block:




Engine Block - Top/Bottom Views:




Cylinder Head:




Cylinder Head - Top/End Views:




Cylinder Head:




Cylinder Head - Intake/Exhaust Side Views: