lemon-mirror:
Home >> Cadillac >> 2007 >> DTS V8-4.6L >> Repair and Diagnosis >> Transmission and Drivetrain >> Automatic Transmission/Transaxle >> Control Module >> Diagrams

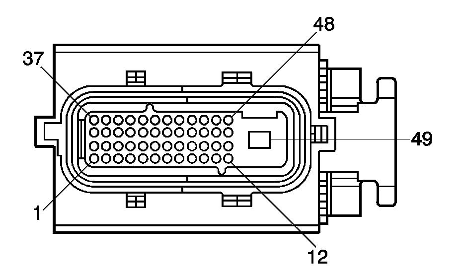
Control Module: Diagrams



Transmission Control Module (TCM)