lemon-mirror:
Home >> Cadillac >> 2007 >> DTS V8-4.6L >> Repair and Diagnosis >> Diagrams >> Exploded Views >> Engine

Engine



Disassembled Views

Engine Covers and Component Assemblies (1 of 2)

Engine Covers and Component Assemblies:




2 - Intake Manifold Assembly
8 - Water Crossover Assembly
20 - Left Camshaft Cover Assembly
27 - Drive Belt Tensioner
28 - Drive Belt Tensioner Bolt
34 - Oil Pump Assembly
35 - Engine Block Assembly
38 - Right Camshaft Cover Assembly
281 - Crankcase Ventilation Tube - PCV Fresh Air
283 - Crankcase Ventilation Tube - PCV Dirty Air
350 - Engine Front Cover
351 - Engine Front Cover Gasket
352 - Engine Front Cover Bolt
354 - Water Pump Drive Belt Tensioner
355 - Water Pump Drive Belt Tensioner Bolt
357 - Water Pump Drive Belt Shield
358 - Water Pump Drive Belt Shield Bolt
359 - Water Pump Drive Belt Shield Nut
372 - Water Crossover Upper Gasket
372 - Water Crossover Upper Gasket
373 - Water Crossover Lower Gasket
374 - Water Crossover Bolt - Long - 115 mm
375 - Water Crossover Bolt - Medium - 92 mm
376 - Water Crossover Bolt - Short - 35 mm
389 - Water Crossover Bolt - Long - 109 mm
390 - Crankshaft Balancer
391 - Crankshaft Balancer Bolt
395 - Water Pump Drive Belt
396 - Water Pump Drive Pulley
397 - Water Pump Drive Pulley Cap
398 - Camshaft Seal
399 - Camshaft Seal Bolt
400 - Oil Pan
401 - Oil Pan Gasket
412 - Oil Pan Drain Plug
413 - Oil Pan Drain Plug O-ring
420 - Oil Pan Bolt
475 - Oil Pan Assembly Bolt
530 - Intake Manifold Bolt
576 - Ignition Coil Module Assembly Sight Shield
590 - Fuel Injector Sight Shield
670 - Engine Lift Bracket - Front
671 - Engine Lift Bracket Bolt - Front
680 - Engine Lift Bracket - Rear
681 - Engine Lift Bracket Bolt - Rear
712 - Oil Level Sensor
713 - Oil Level Sensor O-ring
767 - Ground Bracket
768 - Ground Bracket Bolt
770 - Ground Strap
770 - Ground Strap
771 - Camshaft Cover Ground Strap Bolt
771 - Camshaft Cover Ground Strap Bolt
772 - Cylinder Head Ground Strap Bolt
772 - Cylinder Head Ground Strap Bolt
786 - EGR Valve Inlet Pipe
787 - EGR Valve Inlet Bolt

Engine Covers and Component Assemblies (2 of 2)

Engine Covers and Component Assemblies:




1 - Engine Block Assembly
11 - Oil Level Indicator and Tube
131 - Transaxle Alignment Pin
405 - Oil Pump Suction Tube
407 - Oil Pump Suction Tube Bolt
408 - Oil Pump Suction Tube Nut
435 - Oil Level Indicator Tube Nut
440 - Oil Filter Adapter Assembly
441 - Oil Filter Adapter Assembly Gasket
442 - Oil Filter Adapter Assembly Bolt
449 - Oil Filter
601 - Left Exhaust Manifold Gasket
602 - Left Exhaust Manifold
606 - Left AIR Control Valve
607 - Left AIR Control Valve Bolt
608 - Right AIR Control Valve Pipe Gasket
608 - Right AIR Control Valve Pipe Gasket
609 - Right AIR Control Valve Pipe Nut
609 - Right AIR Control Valve Pipe Nut
609 - Right AIR Control Valve Pipe Nut
618 - Right AIR Control Valve
619 - Right AIR Control Valve Bolt
621 - Right Exhaust Manifold Gasket
622 - Right Exhaust Manifold
623 - Right Exhaust Manifold Nut
625 - Left Exhaust Manifold Bolt
650 - Exhaust Intermediate Pipe
651 - Exhaust Intermediate Pipe Bolt - to Oil Pan
652 - Exhaust Intermediate Pipe Bolt
790 - Starter Motor
791 - Starter Motor Bolt
792 - Starter Motor Solenoid Cable Nut - Large
793 - Starter Motor Solenoid Cable Nut - Small
798 - Starter Motor Wiring Harness

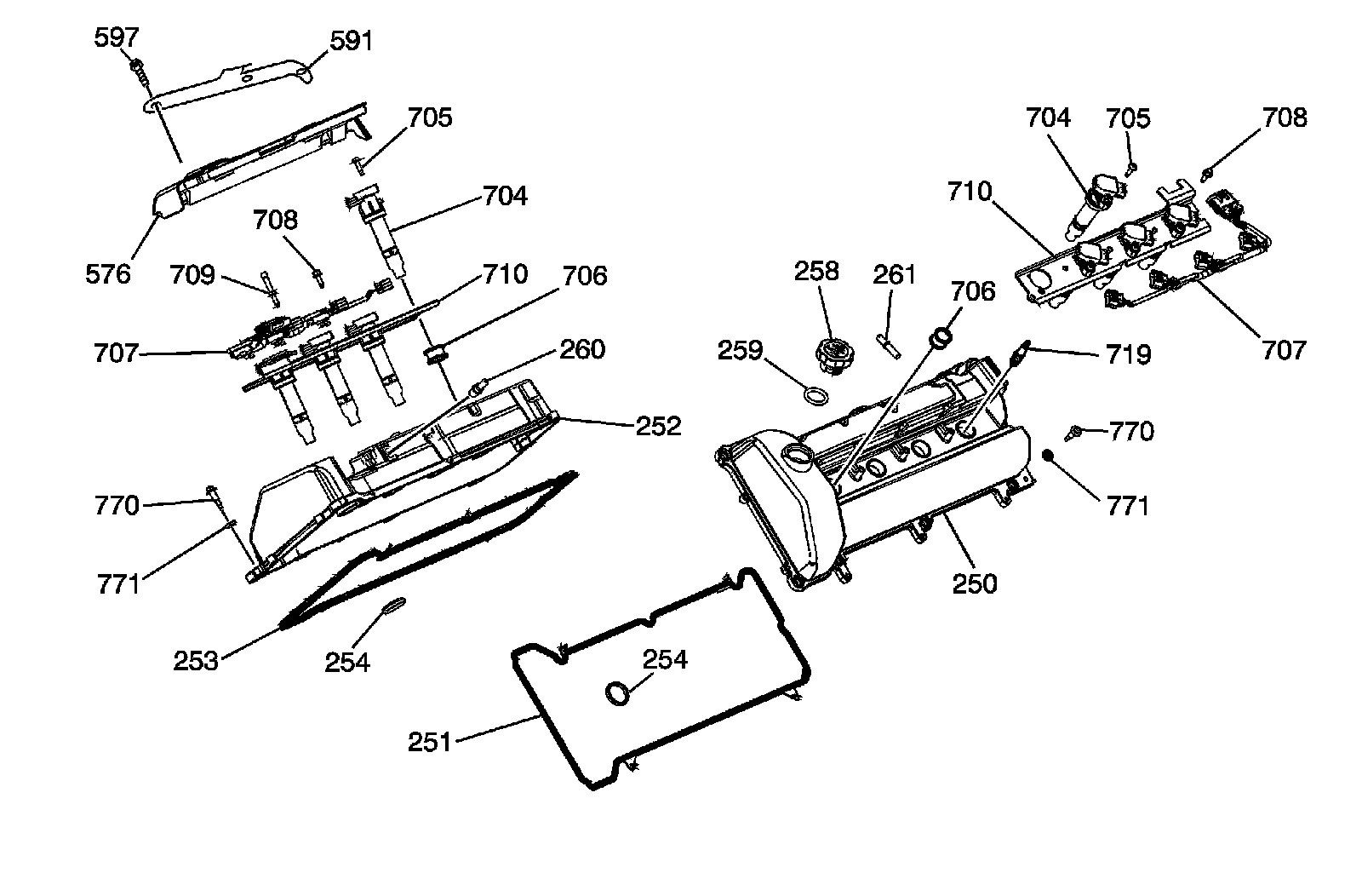
Camshaft Cover Assembly

Camshaft Cover Assembly:




250 - Left Camshaft Cover
251 - Left Camshaft Cover Gasket
252 - Right Camshaft Cover
253 - Right Camshaft Cover Gasket
254 - Spark Plug Port Seal
254 - Spark Plug Port Seal
258 - Oil Fill Cap
259 - Oil Fill Cap O-ring
260 - PCV Fitting - Dirty Air
261 - PCV Fitting - Fresh Air
576 - Ignition Coil Module Assembly Sight Shield
591 - Sight Shield Bracket
597 - Sight Shield Bracket Bolt
704 - Ignition Coil
704 - Ignition Coil
705 - Ignition Coil Bolt
705 - Ignition Coil Bolt
706 - Ignition Coil Seal
706 - Ignition Coil Seal
707 - Ignition Coil Assembly Wiring Harness
707 - Ignition Coil Assembly Wiring Harness
708 - Ignition Coil Assembly Bolt
708 - Ignition Coil Assembly Bolt
709 - Ignition Coil Assembly Ball Stud
710 - Ignition Coil Assembly Bracket
710 - Ignition Coil Assembly Bracket
719 - Spark Plug
770 - Ground Strap
770 - Ground Strap
771 - Camshaft Cover Ground Strap Bolt
771 - Camshaft Cover Ground Strap Bolt

Camshaft Timing Components

Camshaft Timing Components:




150 - Camshaft Sprocket
152 - Primary Camshaft Drive Chain Tensioner
153 - Camshaft Drive Chain Tensioner Bolt
153 - Camshaft Drive Chain Tensioner Bolt
153 - Camshaft Drive Chain Tensioner Bolt
155 - Primary Camshaft Drive Chain
158 - Primary Camshaft Drive Chain Guide
159 - Camshaft Drive Chain Guide or Shoe Bolt
159 - Camshaft Drive Chain Guide or Shoe Bolt
159 - Camshaft Drive Chain Guide or Shoe Bolt
159 - Camshaft Drive Chain Guide or Shoe Bolt
159 - Camshaft Drive Chain Guide or Shoe Bolt
160 - Camshaft Intermediate Drive Shaft Sprocket
161 - Camshaft Intermediate Drive Shaft Sprocket Bolt
162 - Camshaft Intermediate Drive Shaft
163 - Camshaft Intermediate Drive Shaft Bolt
170 - Secondary Camshaft Drive Chain
170 - Secondary Camshaft Drive Chain
171 - Secondary Camshaft Drive Chain Guide
171 - Secondary Camshaft Drive Chain Guide
173 - Left Secondary Camshaft Drive Chain Shoe
175 - Secondary Camshaft Drive Chain Tensioner
175 - Secondary Camshaft Drive Chain Tensioner
177 - Left Camshaft Sprocket
177 - Left Camshaft Sprocket
179 - Camshaft Sprocket Bolt
183 - Right Secondary Camshaft Drive Chain Shoe
187 - Right Exhaust Camshaft Sprocket
188 - Right Intake Camshaft Sprocket

Intake Manifold

Intake Manifold:




6 - Fuel Injector Rail
283 - PCV Air Tube
500 - Intake Manifold
501 - Intake Manifold Vacuum Plug Cap
502 - Intake Manifold Power Brake Vacuum Source Hole Fitting
520 - Intake Manifold Seal
530 - Intake Manifold Bolt
531 - Fuel Injector Rail Bolts
570 - Fuel Rail Nut
590 ld8 - Upper Intake Manifold Sight Shield - LD8
590 l37 - Upper Intake Manifold Sight Shield - L37
593 - Fuel Injector Sight Shield
593 - Fuel Injector Sight Shield
594 - Fuel Injector Sight Shield Cover Ball Stud
595 - Fuel Injector Sight Shield Cover Ball Stud
595 - Fuel Injector Sight Shield Cover Ball Stud
596 - Intake Manifold Sight Shield Emblem
596 - Intake Manifold Sight Shield Emblem

Fuel Rail

Fuel Rail:




560 - Fuel Rail
561 - Fuel Injector
562 - Fuel Injector Clip
563 - Upper Fuel Injector O-ring
564 - Lower Fuel Injector O-ring
565 - Fuel Pressure Service Valve Cap
566 - Fuel Pressure Service Valve

Cylinder Head Assemblies

Cylinder Head Assemblies:




300 - Left Cylinder Head
301 - Right Cylinder Head
308 - Cylinder Head Core Hole Plug
308 - Cylinder Head Core Hole Plug
309 - Cylinder Head Core Hole Plug O-ring
309 - Cylinder Head Core Hole Plug O-ring
309 - Cylinder Head Core Hole Plug O-ring
310 - Cylinder Head Bolt (M11)
311 - Cylinder Head Bolt (M6)
312 - Cylinder Head Coolant Hole Expansion Plug
313 - Cylinder Head Coolant Hole Threaded Plug
314 - Cylinder Head Coolant Hole Plug Seal Ring
315 - Cylinder Head Oil Gallery Threaded Plug
315 - Cylinder Head Oil Gallery Threaded Plug
316 - Cylinder Head Oil Gallery Plug Ring
316 - Cylinder Head Oil Gallery Plug Ring
320 - Exhaust Valve
321 - Intake Valve
322 - Follower - Rocker Arm
323 - Stationary Hydraulic Lifter Adjuster (SHLA)
324 - Valve Stem Oil Seal
325 - Valve Spring
326 - Valve Spring Retainer
327 - Valve Lock Keepers
330 - Left Exhaust Camshaft
331 - Left Intake Camshaft
332 - Right Intake Camshaft
333 - Right Exhaust Camshaft
334 - Exhaust Camshaft Thrust Bearing Cap
335 - Intake Camshaft Thrust Bearing Cap
336 - Camshaft Bearing Cap
337 - Camshaft Bearing Cap Bolt
337 - Camshaft Bearing Cap Bolt
337 - Camshaft Bearing Cap Bolt
338 - Camshaft Sprocket Locating Pin
624 - Cylinder Head Exhaust Manifold Stud
711 - ECT Sensor
725 - Camshaft Position Sensor
726 - Camshaft Position Sensor O-ring
727 - Camshaft Position Sensor Bolt

Water Crossover and Throttle Body Assembly

Water Crossover and Throttle Body Assembly:




360 - Water Pump
361 - Water Pump Bolt
362 - Water Pump O-ring
365 - Thermostat
366 - Thermostat O-ring
367 - Thermostat Housing
368 - Thermostat Housing Bolt
372 - Water Crossover Upper Gasket
372 - Water Crossover Upper Gasket
373 - Water Crossover Lower Gasket
373 - Water Crossover Lower Gasket
374 - Water Crossover Bolt - Long - 115 mm
375 - Water Crossover Bolt - Medium - 92 mm
376 - Water Crossover Bolt - Short - 35 mm
377 - Water Pump Cover
378 - Water Pump Cover Gasket
379 - Water Pump Cover Stud
383 - Water Pump Cover Bolt
386 - Engine Coolant Fitting
389 - Water Crossover Bolt - Long - 109 mm
525 - Plenum Duct
526 - Plenum Duct Clamp
526 - Plenum Duct Clamp
660 - Automatic Transmission Range Selector Lever Cable Clip Bracket
680 - Engine Lift Bracket
681 - Engine Lift Bracket Bolt
701 - Throttle Body
702 - Throttle Body Bolt
703 - Throttle Body Gasket
740 - MAP Sensor
741 - MAP Sensor Seal
742 - MAP Sensor Bracket
743 - MAP Sensor Bracket Bolt
744 - EVAP Purge Solenoid
745 - EVAP Purge Solenoid O-ring
746 - EVAP Purge Solenoid Bolt
781 - EGR Valve
782 - EGR Valve Gasket
783 - EGR Valve Bolt
784 - EGR Valve Heat Shield
785 - EGR Valve Heat Shield Nut
786 - EGR Valve Inlet Pipe
787 - EGR Valve Inlet Pipe Bolt

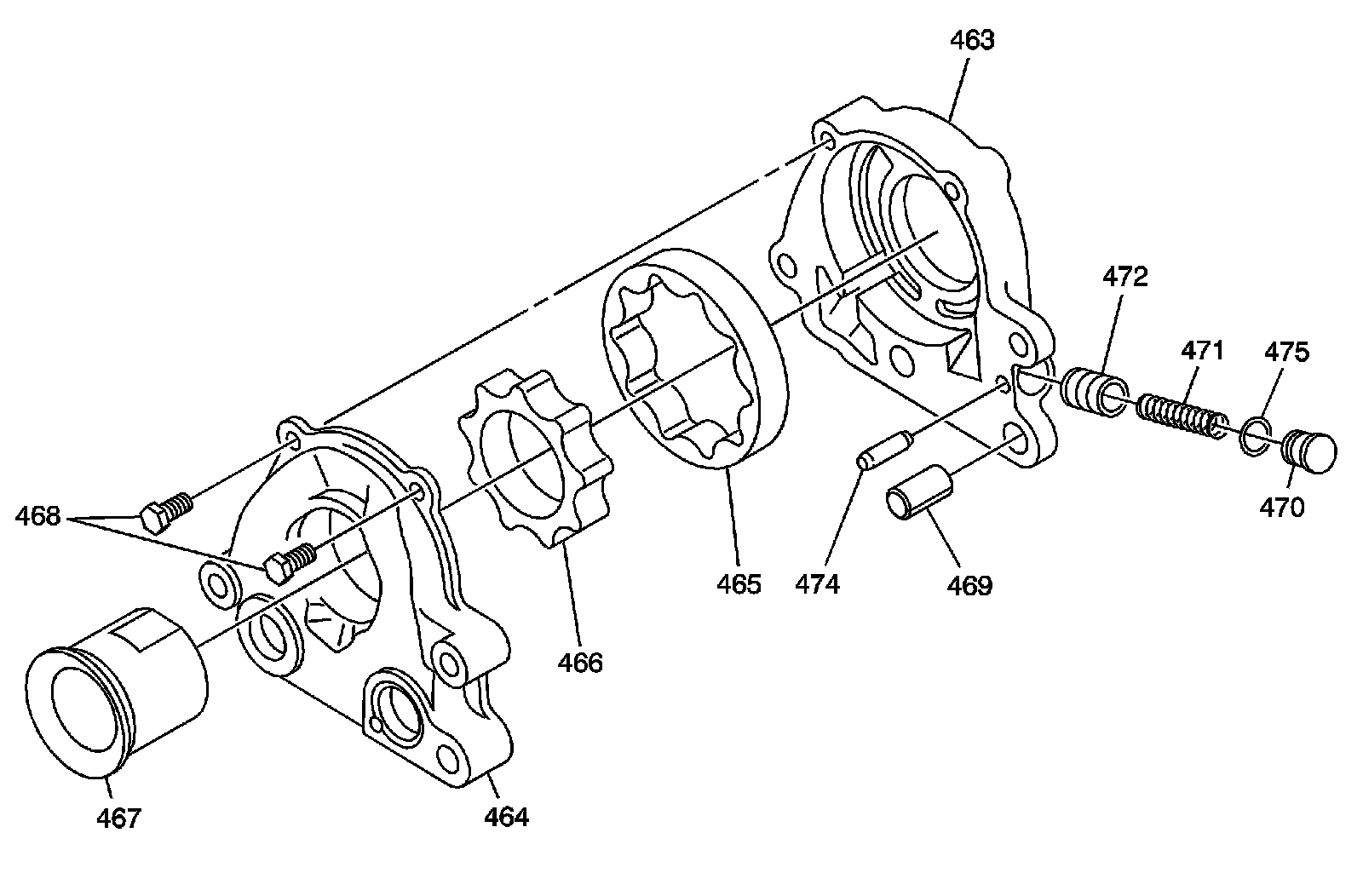
Oil Pump

Oil Pump:




463 - Oil Pump Housing
464 - Oil Pump Cover
465 - Oil Pump Driven Rotor
466 - Oil Pump Drive Rotor
467 - Oil Pump Drive Spacer
468 - Oil Pump Cover Bolts
469 - Oil Pump Alignment Pin
470 - Oil Pump Pressure Relief Valve Cap
471 - Oil Pump Spring
472 - Oil Pump Plunger
474 - Oil Pump Pressure Relief Valve Cap Retaining Pin
475 - Oil Pump Pressure Relief Valve Cap O-Ring

Engine Block Assembly

Engine Block Assembly:




100 - Engine Block
101 - Lower Crankcase
102 - Engine Oil Manifold
105 - Lower Crankcase Perimeter Bolt
106 - Engine Oil Manifold Bolt
107 - Oil Pan Baffle Stud
112 - Lower Crankcase Bolt
113 - Lower Crankcase Stud - Oil Pump Suction Pipe
118 - Lower Crankcase-to-Engine Block Pin
120 - Crankshaft
121 - Crankshaft Pin
122 - Crankshaft Upper Bearing
123 - Crankshaft Lower Bearing
124 - Crankshaft Upper Thrust Bearing #3
125 - Crankshaft Rear Oil Seal
131 - Engine Block Dowel Pins
132 - Engine Front Cover-to-Engine Block Pin
137 - Cylinder Head Dowel Pins
138 - Camshaft Plug - Intermediate Driveshaft
139 - Lower Crankcase Stud
140 - Engine Flywheel
141 - Engine Flywheel Bolt
410 - Oil Pan Baffle
720 - Crankshaft Position Sensor
721 - Crankshaft Position Sensor O-ring
722 - Crankshaft Position Sensor Bolt
723 - Knock Sensor
724 - Knock Sensor Bolt
724 - Knock Sensor Bolt
767 - Jump Start Ground Bracket
768 - Jump Start Ground Bracket Bolt
795 - Crankshaft Position Sensor and Knock Sensor Wiring Harness Bracket Bolt
796 - Crankshaft Position Sensor and Knock Sensor Wiring Harness
797 - Crankshaft Position Sensor and Knock Sensor Wiring Harness Bracket

Piston, Rings, Bearing and Connecting Rod

Piston, Rings, Bearing and Connecting Rod:




200 - Connecting Rod
201 - Connecting Rod Bolt
202 - Connecting Rod Piston Pin Bushing
203 - Connecting Rod Bearing
210 - Piston
211 - Piston Pin
212 - Piston Pin Retainer
212 - Piston Pin Retainer
213 - Upper Compression Ring
214 - Lower Compression Ring
215 - Upper Oil Control Ring
216 - Oil Control Ring Expander
217 - Lower Oil Control Ring

Oil Filter Adapter

Oil Filter Adapter:




440 - Oil Filter Adapter
441 - Oil Filter Adapter Gasket
442 - Oil Filter Adapter Bolt
445 - Oil Filter Fitting
446 - Oil Filter Bypass Valve
449 - Oil Filter
457 - Bypass Hole Plug
715 - Oil Pressure Switch
716 - Oil Pressure Switch O-ring

Oil Filter Adapter with Oil Cooler

Oil Filter Adapter with Oil Cooler:




440 - Oil Filter Adapter
441 - Oil Filter Adapter Gasket
442 - Oil Filter Adapter Bolt
445 - Oil Filter Fitting
446 - Oil Filter Bypass Valve
449 - Oil Filter
452 - Oil Cooler Bypass Valve
453 - Oil Cooler Bypass Valve Plug O-ring
454 - Oil Cooler Bypass Valve Plug
455 - Oil Cooler Pipe Fitting
455 - Oil Cooler Pipe Fitting
715 - Oil Pressure Switch
716 - Oil Pressure Switch O-ring