lemon-mirror:
Home >> Cadillac >> 2007 >> CTS V8-6.0L >> Repair and Diagnosis >> Specifications >> Mechanical Specifications >> Engine >> System Specifications >> Thread Repair Specifications

Thread Repair Specifications



Thread Repair Specifications

Engine Block:




Engine Block - Front/Rear Views:




Engine Block:




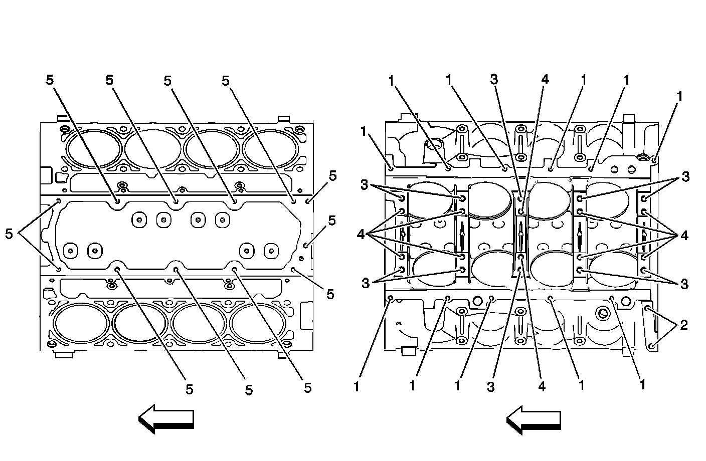
Engine Block - Left/Right Side Views:




Engine Block:




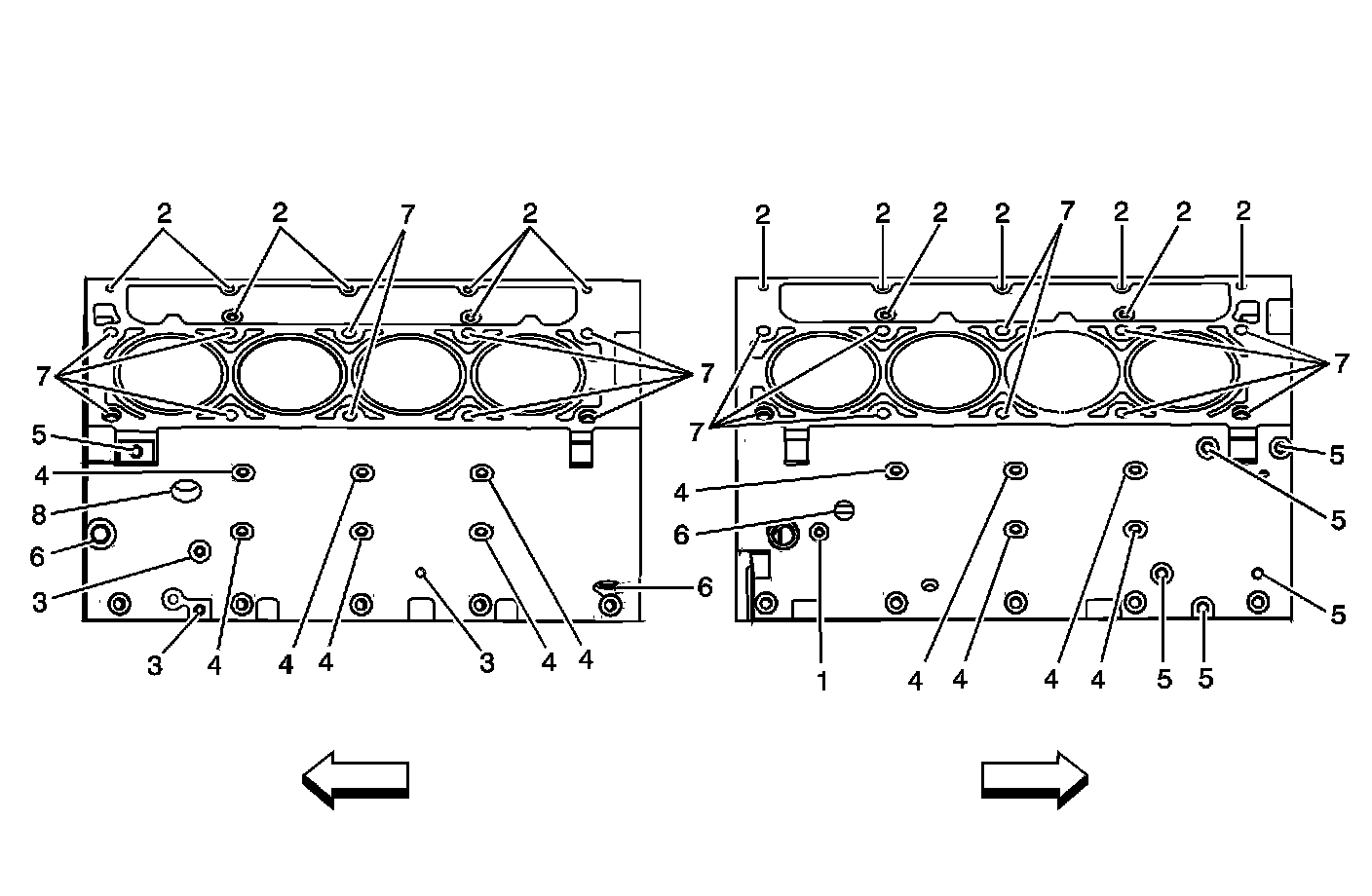
Engine Block - Top/Bottom Views:




Cylinder Head:




Cylinder Head - Top/End Views:




Cylinder Head:




Cylinder Head - Intake/Exhaust Side Views: