lemon-mirror:
Home >> Cadillac >> 2004 >> CTS V8-5.7L VIN P >> Repair and Diagnosis >> Diagrams >> Exploded Views >> Engine >> Lower Engine Assembly

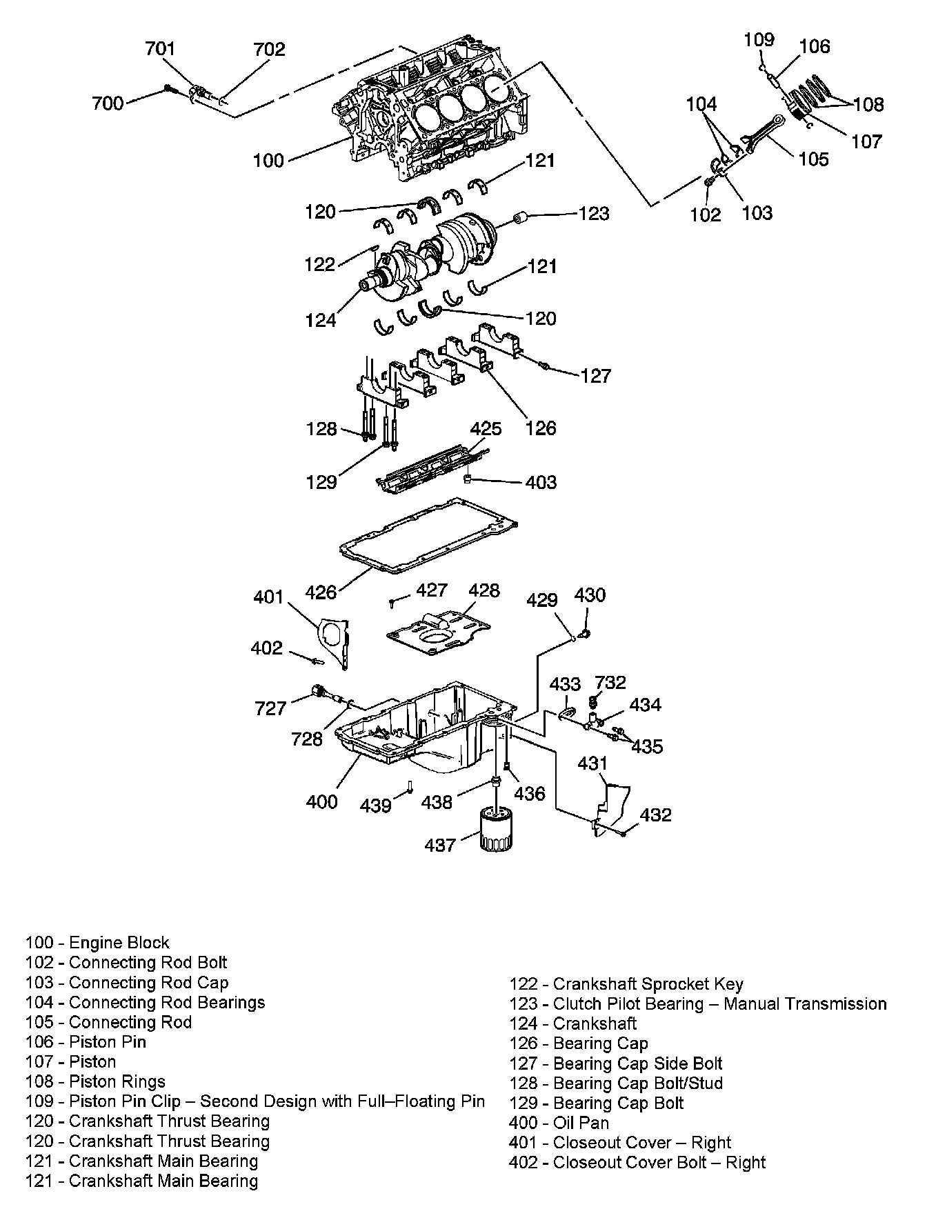
Lower Engine Assembly