lemon-mirror:
Home >> Cadillac >> 2003 >> CTS V6-3.2L VIN N >> Repair and Diagnosis >> Diagrams >> Connector Views >> Engine Control Module

Engine Control Module



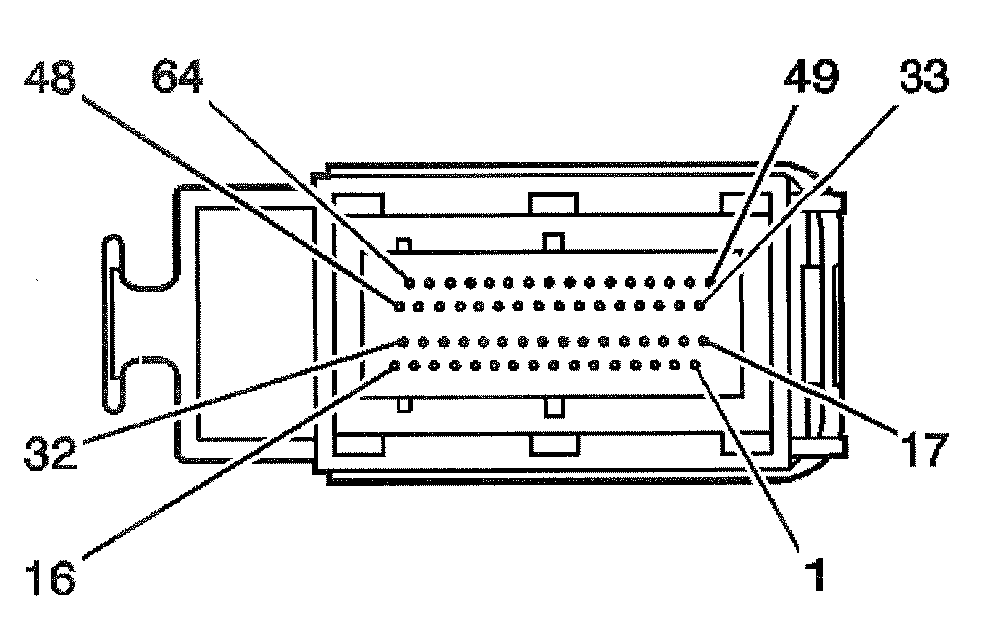
Engine Control Module Connector End Views

Engine Control Module (ECM) C1












Engine Control Module (ECM) C2