lemon-mirror:
Home >> Buick >> 2013 >> LaCrosse FWD L4-2.4L >> Repair and Diagnosis >> Powertrain Management >> Computers and Control Systems >> Relays and Modules - Computers and Control Systems >> Engine Control Module >> Diagrams >> Engine Control Module X3 (LUK)

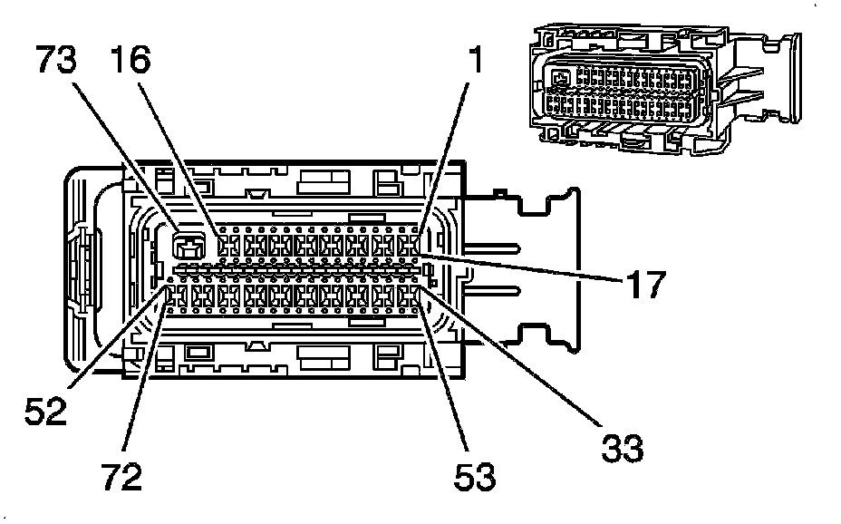
Engine Control Module X3 (LUK)




Component Connector End Views

K20 Engine Control Module X3 (LUK)