lemon-mirror:
Home >> Buick >> 2012 >> Verano L4-2.4L >> Repair and Diagnosis >> Powertrain Management >> Computers and Control Systems >> Fuel Level Sensor >> Service and Repair >> Flexible Fuel Sensor Replacement

Flexible Fuel Sensor Replacement




Flexible Fuel Sensor Replacement

Removal Procedure

1. Raise and support the vehicle. Refer to Lifting and Jacking the Vehicle (Standard) Service and Repair.

2. Remove the underbody front air deflector - right side.




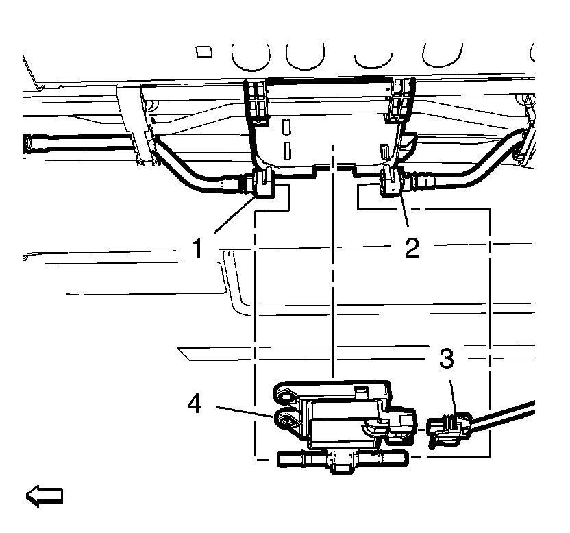
3. Remove the fuel feed pipe (1, 2) from the flexible fuel sensor (4). Refer to Plastic Collar Quick Connect Fitting Service Procedures.

4. Disconnect the flexible fuel sensor wiring harness plug (3).

5. Unclip the flexible fuel sensor (4).

Installation Procedure




1. Clip in the flexible fuel sensor (4).

2. Connect the flexible fuel sensor wiring harness plug (3).

3. Install the fuel feed pipe (1, 2) to the flexible fuel sensor (4). Refer to Plastic Collar Quick Connect Fitting Service Procedures.

4. Install the underbody front air deflector - right side.

5. Lower the vehicle.