lemon-mirror:
Home >> Buick >> 2012 >> Regal L4-2.0L Turbo >> Repair and Diagnosis >> Specifications >> Mechanical Specifications >> Engine >> System Specifications >> Thread Repair Specifications (LDK, LHU)

Thread Repair Specifications (LDK, LHU)




Thread Repair Specifications (LDK, LHU)

Engine Block- Front View










Engine Block- Back View










Engine Block- Right Side View










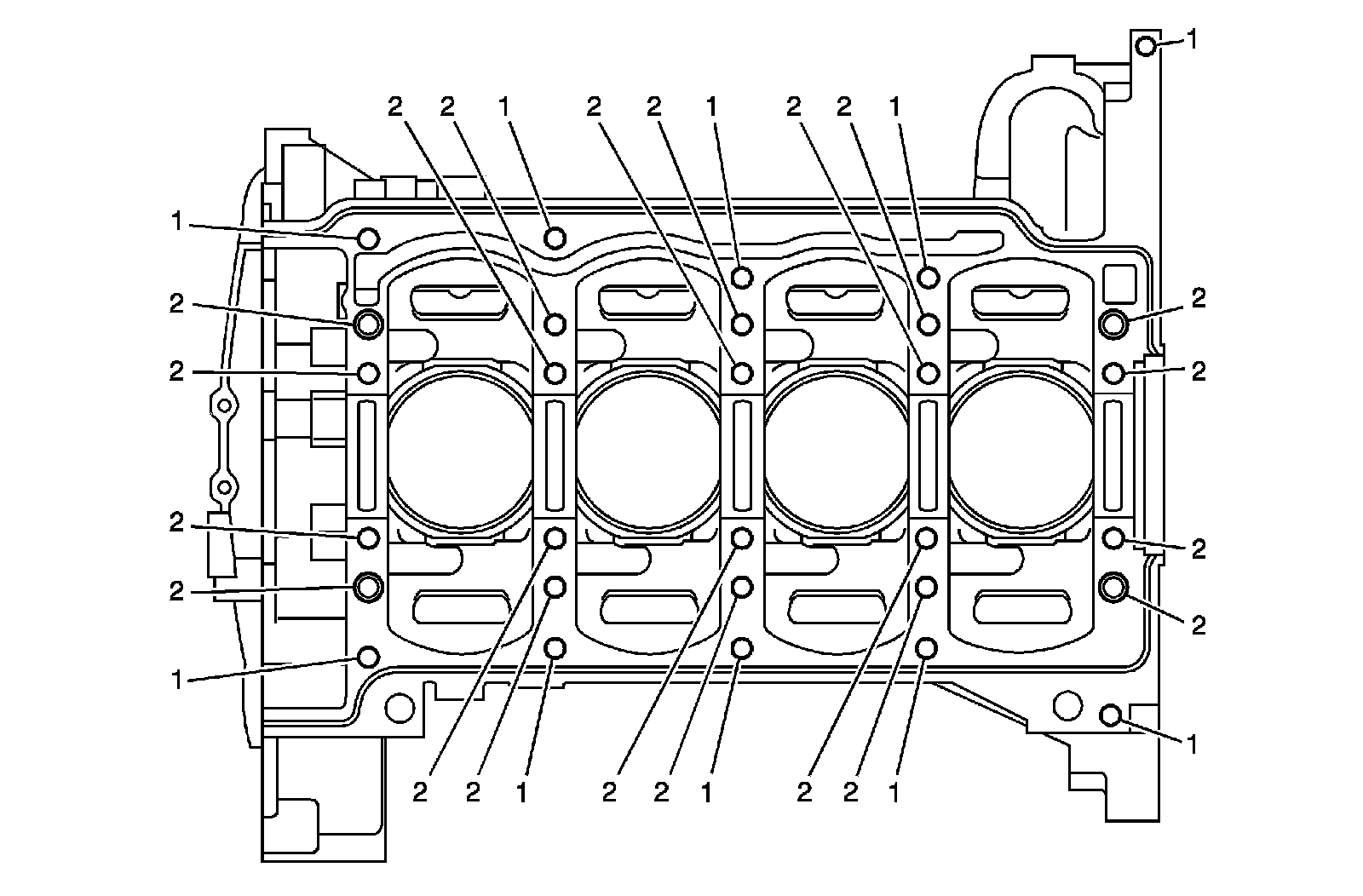
Engine Block- Bottom View










Engine Block- Left Side View










Engine Block- Top View










Lower Crankcase- Front View










Lower Crankcase- Back View










Lower Crankcase- Bottom View










Lower Crankcase- Right View










Lower Crankcase- Left View










Cylinder Head- Top View










Cylinder Head- Intake Manifold Deck View










Cylinder Head- Exhaust Manifold Deck View










Cylinder Head- Front View










Cylinder Head- Back View