lemon-mirror:
Home >> Buick >> 2012 >> Regal L4-2.0L Turbo >> Repair and Diagnosis >> Powertrain Management >> Computers and Control Systems >> Relays and Modules - Computers and Control Systems >> Engine Control Module >> Diagrams >> Engine Control Module X2 (LHU)

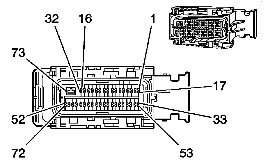
Engine Control Module X2 (LHU)




Component Connector End Views

K20 Engine Control Module X2 (LHU)