lemon-mirror:
Home >> Buick >> 2011 >> Regal L4-2.4L >> Repair and Diagnosis >> Specifications >> Mechanical Specifications >> Engine >> System Specifications >> Thread Repair Specifications

Thread Repair Specifications




Thread Repair Specifications (LAF) (2.4L)

Engine Block - Front View









Engine Block - Back View









Engine Block - Right Side View









Engine Block - Left Side View









Engine Block - Bottom View









Engine Block - Top View









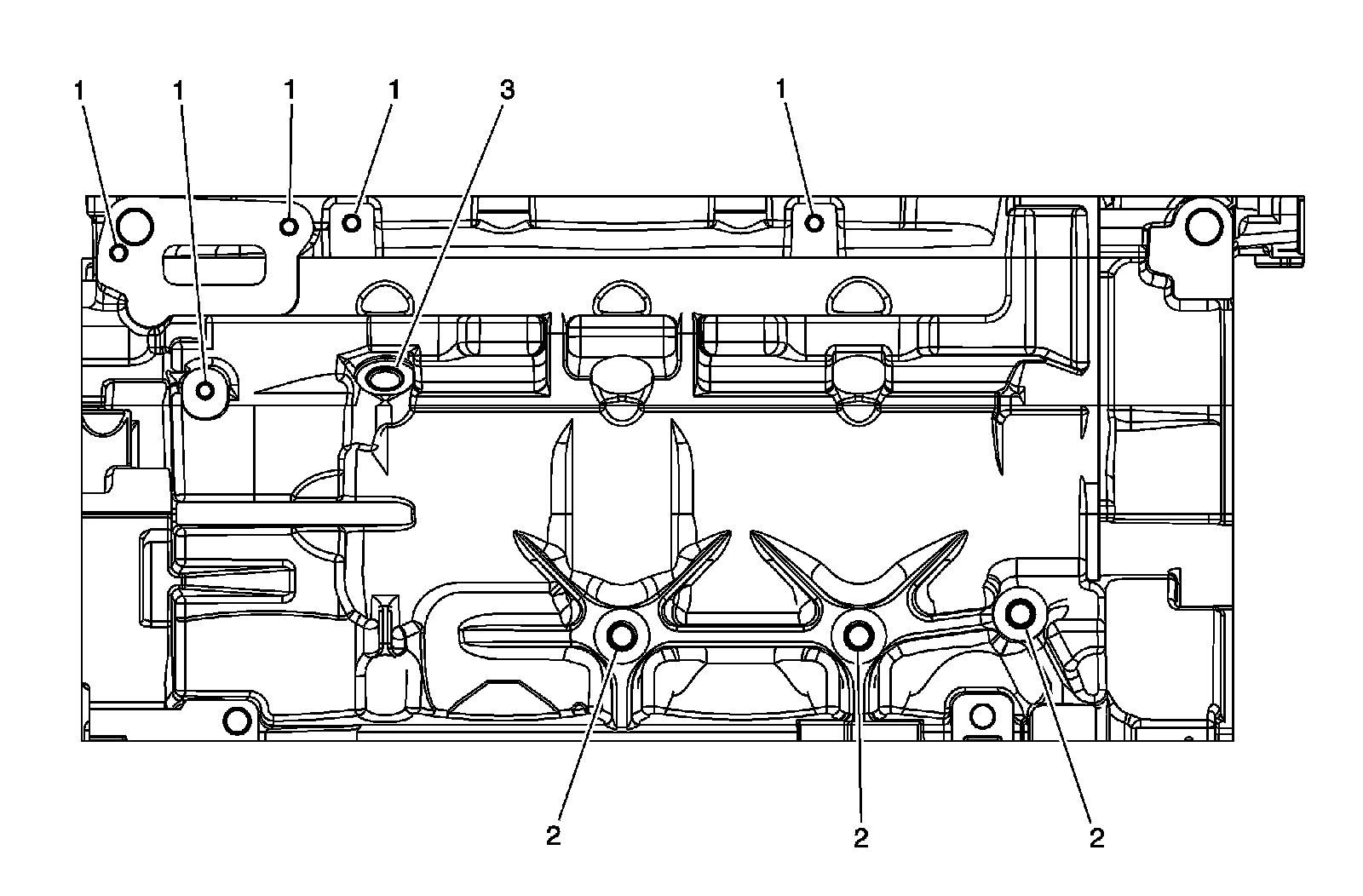
Lower Crankcase - Front View









Lower Crankcase - Back View









Lower Crankcase - Bottom View









Lower Crankcase - Right View









Lower Crankcase - Left View









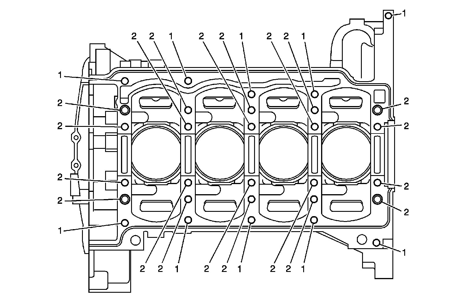
Cylinder Head - Top View









Cylinder Head - Intake Manifold Deck View









Cylinder Head - Exhaust Manifold Deck View









Cylinder Head - Front View









Cylinder Head - Back View