lemon-mirror:
Home >> Buick >> 2009 >> LaCrosse V6-3.8L >> Repair and Diagnosis >> Body and Frame >> Body Control Systems >> Body Control Module >> Service and Repair

Body Control Module: Service and Repair




Body Control Module Replacement

Removal Procedure





Caution: Electrostatic discharge (ESD) can damage many solid-state electrical components. ESD susceptible components may or may not be labeled with the ESD symbol. Handle all electrical components carefully. Use the following precautions in order to avoid ESD damage:

* Touch a metal ground point in order to remove your body's static charge before servicing any electronic component; especially after sliding across the vehicle seat.
* Do not touch exposed terminals. Terminals may connect to circuits susceptible the ESD damage.
* Do not allow tools to contact exposed terminals when servicing connectors.
* Do not remove components from their protective packaging until required to do so.
* Avoid the following actions unless required by the diagnostic procedure:

- Jumpering or grounding of the components or connectors.
- Connecting test equipment probes to components or connectors. Connect the ground lead first when using test probes.

* Ground the protective packaging of any component before opening. Do not rest solid-state components on metal workbenches, or on top of TVs, radios, or other electrical devices.

Note: You must perform the new body control module (BCM) setup when replacing the BCM. Refer to Body Control Module Programming and Setup (Programming and Relearning).

1. Remove the left instrument panel (I/P) outer trim cover. Refer to Instrument Panel Outer Trim Cover Replacement (Service and Repair).
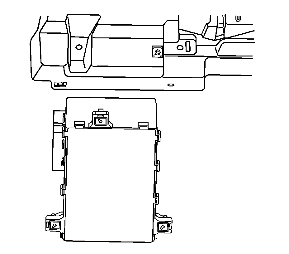
2. Press to release the cam lock. Disconnect the upper electrical connector from the BCM.
3. Remove the left I/P insulator. Refer to Instrument Panel Insulator Panel Replacement - Left Side (Service and Repair).
4. Remove the knee bolster. Refer to Driver Knee Bolster Replacement (Service and Repair).




5. Press to release the cam lock. Disconnect the lower BCM electrical connectors.




6. Remove the BCM bracket screws and remove the BCM and bracket from the I/P.




7. Remove the BCM from the BCM bracket.

Installation Procedure

1. Install the BCM to the BCM bracket.




2. Install the BCM and BCM bracket to the I/P.





Caution: Refer to Fastener Caution (Fastener Caution).

3. Install the BCM screws.

Tighten the screws to 2 Nm (18 lb in).




4. Connect the lower BCM electrical connectors. Engage the cam lock.
5. Install the knee bolster. Refer to Driver Knee Bolster Replacement (Service and Repair).
6. Install the left I/P insulator. Refer to Instrument Panel Insulator Panel Replacement - Left Side (Service and Repair).




7. Connect the upper electrical connector to the BCM. Engage the cam lock.
8. Install the left I/P outer trim cover. Refer to Instrument Panel Outer Trim Cover Replacement (Service and Repair).
9. Perform the new BCM setup. Refer to Control Module References (Programming and Relearning) for programming and setup information.