lemon-mirror:
Home >> Buick >> 2007 >> Rendezvous V6-3.5L >> Repair and Diagnosis >> Diagrams >> Exploded Views >> Engine

Engine



Disassembled Views

Upper Intake Manifold and Components

Upper Intake Manifold and Components:




1 - Exhaust Gas Recirculation Valve Bolts
2 - Exhaust Gas Recirculation Valve
3 - Engine Oil Cooler Hose Clamp
4 - Thermostat Bypass Pipe Adapter Seal
5 - Thermostat Bypass Pipe Clamp
6 - Thermostat Bypass Hose
7 - Thermostat Bypass Pipe Clamp
8 - Thermostat Bypass Pipe Bolt
9 - Engine Oil Cooler Hose
10 - Engine Oil Cooler Hose Clamp
11 - Thermostat Bypass Pipe Bolt
12 - Thermostat Bypass Pipe Clip Nut
13 - Thermostat Bypass Pipe
14 - Exhaust Crossover Pipe Heat Shield
15 - Exhaust Crossover Pipe Heat Shield Bolt
16 - Exhaust Crossover Pipe Nut
17 - Exhaust Crossover Pipe
18 - Exhaust Crossover Pipe Stud
19 - Engine Oil Cooler Pipe
20 - EVAP Purge Valve
21 - Engine Oil Cooler Pipe Bolt
22 - Upper Intake Manifold Bolt
23 - Spark Plug Wire Support
24 - EVAP Purge Valve Spacer Plate Seal
25 - EVAP Purge Valve Spacer Plate
26 - EVAP Purge Valve Seal
27 - EVAP Purge Valve Bolt
28 - Throttle Body Bolt
29 - Positive Crankcase Ventilation Tube Clip Bolt
30 - Positive Crankcase Ventilation Tube Clip
31 - Positive Crankcase Ventilation Tube
32 - Positive Crankcase Ventilation Valve Orifice
33 - Throttle Body Nut
34 - Valve Rocker Arm Cover
35 - Oil Filler Cap Seal
36 - Oil Filler Cap
37 - Throttle Body
38 - Throttle Body Seal
39 - Throttle Body Stud
40 - Valve Rocker Arm Cover Gasket
41 - Upper Intake Manifold Gasket
42 - Upper Intake Manifold
43 - Ignition Coil Stud
44 - Ignition Coil
45 - Ignition Coil Bolt
46 - Ignition Coil Bracket Nut
47 - Upper Intake Manifold Stud
48 - MAP Sensor Seal
49 - MAP Sensor
50 - MAP Sensor Clip
51 - MAP Sensor Bolt
52 - Exhaust Gas Recirculation Valve Pipe
53 - Exhaust Gas Recirculation Valve Pipe Bolt
54 - Exhaust Gas Recirculation Valve Gasket

Lower Intake Manifold, Cylinder Head, and Components

Lower Intake Manifold, Cylinder Head, and Components:




1 - Valve Rocker Arm Cover Bolt
2 - Positive Crankcase Ventilation Tube
3 - Spark Plug Wire Harness
4 - Spark Plug Wire Harness
5 - Spark Plug Wire Support
6 - Fuel Service Port Cap
7 - Fuel Schrader Valve
8 - Lower Intake Manifold Bolt
9 - Sequential Multiport Fuel Injection Fuel Rail Bolt
10 - Sequential Multiport Fuel Injection Fuel Rail
11 - Fuel Injector Seal
12 - Fuel Injector Retainer
13 - Sequential Multiport Fuel Injector
14 - Fuel Injector Seal
15 - Engine Coolant Thermostat
16 - Engine Coolant Thermostat Seal
17 - Water Outlet Bolt
18 - Water Outlet Housing Fitting
19 - Valve Push Rod
20 - Valve Rocker Arm Bolt
21 - Valve Rocker Arm
22 - Valve Push Rod
23 - Water Outlet
24 - Valve Stem Key
25 - Valve Spring Cap
25 - Valve Spring Cap
26 - Valve Spring
26 - Valve Spring
27 - Valve Stem Oil Seal
27 - Valve Stem Oil Seal
28 - Valve Guide
28 - Valve Guide
29 - Cylinder Head Bolt
30 - Cylinder Head Bolt
31 - Engine Mount Strut and Engine Lift Bracket
32 - Engine Mount Strut and Engine Lift Bracket Bolt
33 - Spark Plug
34 - Engine Mount Strut and A/C Compressor Bracket Bolt
35 - Exhaust Valve Seat
36 - Intake Valve
37 - Exhaust Valve
38 - Engine Mount Strut and A/C Compressor Bracket
39 - Engine Mount Strut and A/C Compressor Bracket Bolt
40 - Exhaust Manifold Heat Shield Bolt
41 - Exhaust Manifold Heat Shield
42 - Exhaust Manifold Heat Shield Nut
43 - Exhaust Manifold
44 - Exhaust Manifold Gasket
45 - Exhaust Manifold Stud
46 - Intake Valve Seat
47 - Lower Intake Manifold Gasket
48 - Cylinder Head
49 - Cylinder Head Core Hole Plug
50 - Cylinder Head Gasket
51 - Cylinder Head Location Pin
52 - Generator Bracket
53 - Engine Lift Front Bracket
54 - Generator Bracket Bolt
55 - Drive Belt Tensioner
56 - Generator Bracket Bolt
57 - Generator Bracket Bolt
58 - Drive Belt Tensioner Bolt
59 - Exhaust Manifold
60 - Exhaust Manifold Heat Shield
61 - Exhaust Manifold
62 - Exhaust Manifold Heat Shield
63 - Oxygen Sensor
64 - Exhaust Manifold Heat Shield Bolt
65 - Cylinder Head Gasket
66 - Engine Coolant Temperature Sensor
67 - Intake Manifold Seal
68 - Heater Inlet Pipe Seal
69 - Lower Intake Manifold
70 - Lower Intake Manifold Bolt
71 - Heater Inlet Pipe Nut
72 - Heater Inlet Pipe
73 - Heater Inlet Pipe Stud
74 - Cylinder Head
75 - Cylinder Head Core Hole Plug
76 - Valve Rocker Arm Cover Gasket
77 - Valve Rocker Arm Cover
78 - Valve Rocker Arm Cover Bolt Grommet

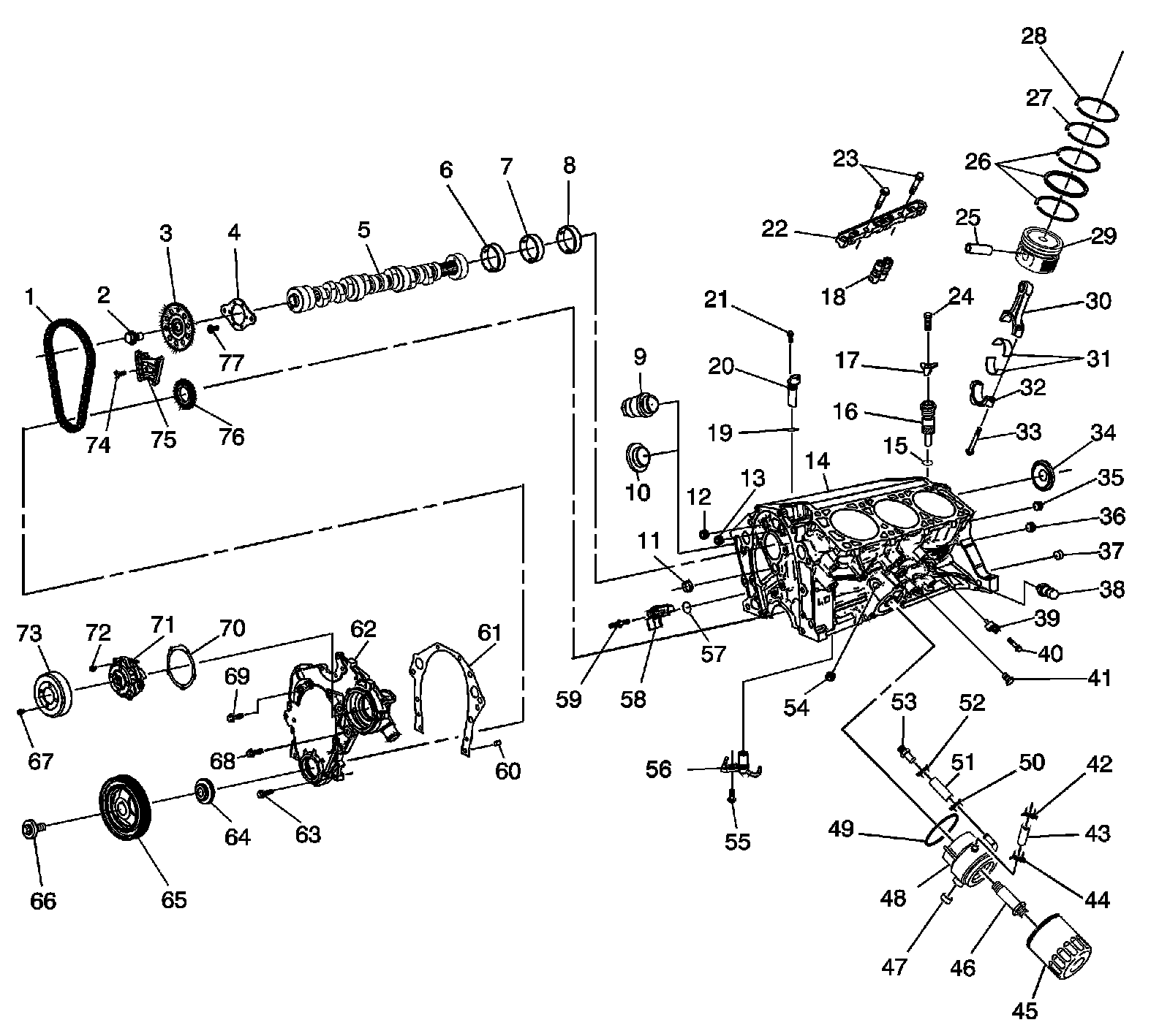
Engine Block and Components

Engine Block and Components:




1 - Timing Chain
2 - Camshaft Sprocket Bolt
3 - Camshaft Sprocket
4 - Camshaft Thrust Plate
5 - Camshaft
6 - Camshaft Bearing
7 - Camshaft Bearing
8 - Camshaft Bearing
9 - Engine Block Heater
10 - Engine Block Coolant Hole Plug
11 - Engine Block Oil Gallery Plug
12 - Engine Block Oil Gallery Plug
13 - Engine Block Oil Gallery Plug
14 - Engine Block
15 - Oil Pump Drive Seal
16 - Oil Pump Drive
17 - Oil Pump Drive Clamp
18 - Valve Lifter
19 - Camshaft Sensor Seal
20 - Camshaft Position Sensor
21 - Camshaft Position Sensor Bolt
22 - Valve Lifter Guide
23 - Valve Lifter Guide Bolt
24 - Oil Pump Drive Clamp Bolt
25 - Piston Pin
26 - Piston Oil Ring Rail
27 - Piston Compression Lower Ring
28 - Piston Compression Upper Ring
29 - Piston
30 - Connecting Rod
31 - Connecting Rod Bearing
32 - Connecting Rod Bearing Cap
33 - Connecting Rod Bolt
34 - Camshaft Rear Bearing Hole Plug
35 - Engine Block Oil Gallery Plug Assembly
36 - Engine Block Oil Gallery Plug Assembly
37 - Transmission Locating Pin
38 - Engine Oil Pressure Indicator Switch
39 - Knock Sensor
40 - Knock Sensor Bolt
41 - Engine Block Coolant Drain Hole Plug
42 - Engine Oil Cooler Hose Clamp
43 - Engine Oil Cooler Inlet Hose
44 - Engine Oil Cooler Hose Clamp
45 - Oil Filter
46 - Engine Oil Cooler Fitting
47 - Engine Oil Cooler Plug
48 - Engine Oil Cooler
49 - Engine Oil Cooler Seal
50 - Engine Oil Cooler Hose Clamp
51 - Engine Oil Cooler Inlet Hose
52 - Engine Oil Cooler Hose Clamp
53 - Engine Oil Cooler Fitting
54 - Oil Filter Bypass Hole Plug Assembly
55 - Piston Oil Nozzle Bolt
56 - Piston Oil Nozzle
57 - Crankshaft Position Sensor Seal
58 - Crankshaft Position Sensor
59 - Crankshaft Position Sensor Stud
60 - Engine Front Cover Location Pin
61 - Engine Front Cover Gasket
62 - Engine Front Cover
63 - Engine Front Cover Bolt
64 - Crankshaft Front Oil Seal
65 - Crankshaft Balancer
66 - Crankshaft Balancer Bolt
67 - Water Pump Pulley Bolt
68 - Engine Front Cover Bolt
69 - Engine Front Cover Bolt
70 - Water Pump Gasket
71 - Water Pump
72 - Water Pump Bolt
73 - Water Pump Pulley
74 - Timing Chain Dampener Bolt
75 - Timing Chain Dampener
76 - Crankshaft Sprocket
77 - Camshaft Thrust Bearing Bolt

Crankshaft and Components

Crankshaft and Components:




1 - Crankshaft Balancer Key
2 - Crankshaft Upper No. 1 and 4 Bearing
3 - Crankshaft Upper No. 2 Bearing
4 - Crankshaft Upper No. 3 Bearing
5 - Flywheel Bolt
6 - Flywheel
7 - Crankshaft Rear Oil Seal
8 - Crankshaft Lower No. 3 Bearing
9 - Crankshaft No. 4 Bearing Cap
10 - Oil Pump Location Pin
11 - Crankshaft Bearing Cap
12 - Crankshaft Bearing Cap Bolt
13 - Oil Pump Drive Shaft
14 - Oil Level Indicator Tube Bolt
15 - Oil Pump
16 - Oil Pump Bolt
17 - Oil Level Indicator
18 - Oil Level Indicator Tube
19 - Oil Level Indicator Tube Seal
20 - Oil Level Indicator Tube Seal
21 - Oil Pan Support Bracket Bolt
22 - Oil Pan Support Bracket
23 - Oil Pan Bolt
24 - Oil Pan Bolt
25 - Oil Pan Drain Plug Seal
26 - Oil Pan Drain Plug
27 - Oil Pan Support Bracket
28 - Oil Pan Support Bracket Bolt
29 - Oil Pan
30 - Oil Pan Gasket
31 - Crankshaft Oil Deflector Nut
32 - Crankshaft Oil Deflector
33 - Crankshaft Bearing Cap Stud
34 - Crankshaft No. 1 Bearing Cap
35 - Crankshaft Lower No. 1 and 4 Bearing
36 - Crankshaft
37 - Crankshaft Lower No. 2 Bearing