lemon-mirror:
Home >> Acura >> 2012 >> ZDX V6-3.7L >> Repair and Diagnosis >> Windows and Glass >> Windows >> Window Shade >> Testing and Inspection

Window Shade: Testing and Inspection




Power Sunshade Control Unit Input Test

NOTE:

- SRS components are located in this area. Review the SRS component locations Locations, and precautions and procedures Service and Repair before doing repairs or servicing.
- If the power sunshade works OK manually, but will not work in AUTO, or reverses frequently (obstacle detection), reset the panoramic glass roof control unit Testing and Inspection before proceeding with the input test.

1. Turn the ignition switch to LOCK (0), or press the engine start/stop button to select the OFF mode.

2. Remove the headliner Service and Repair.

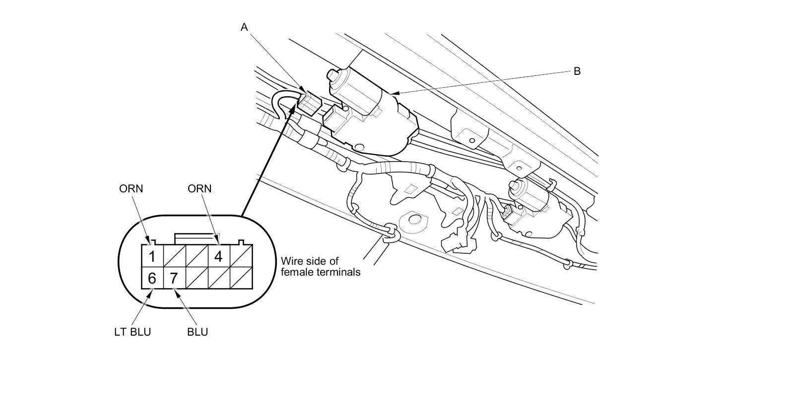
3. Disconnect the 10P connector (A) from the power sunshade control unit/motor (B).





4. Inspect the connector and socket terminals to be sure they are all making good contact.

- If the terminals are bent, loose, or corroded, repair them as necessary, and recheck the system.
- If the terminals look OK, go to step 5.

5. With the connector still disconnected, do the following input tests:

- If any test indicates a problem, find and correct the cause, then recheck the system.
- If the input test proves OK, go to step 6.





6. Reconnect the connector to the control unit, and do the following input tests:

- If any test indicates a problem, find and correct the cause, then recheck the system.
- If all the input tests prove OK, go to step 7.





7. If all the input tests are OK and multiple failures are found, replace the power sunshade control unit/motor Panoramic Glass Roof Motor Replacement. If the problem is related to the key-off operation, go to the driver's MICU input test Drivers and Passengers MICU Input Test, and power window master switch input test Power Window Master Switch Input Test.