lemon-mirror:
Home >> Acura >> 2012 >> ZDX V6-3.7L >> Repair and Diagnosis >> Windows and Glass >> Windows >> Power Window Switch >> Service and Repair >> Power Window Master Switch Replacement

Power Window Master Switch Replacement




Power Window Master Switch Replacement

1. Remove the driver's power window switch panel Front Door Panel Removal / Installation.

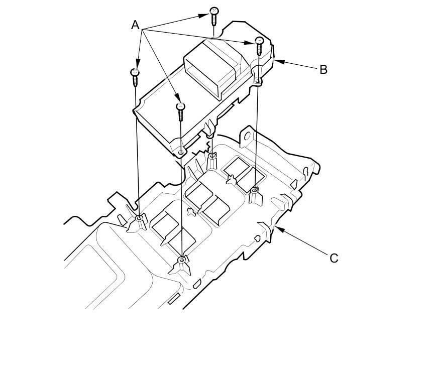
2. Remove the four screws (A), then remove the power window master switch (B) from the power window switch panel assembly (C).





3. Install the switch in the reverse order of removal.

4. After replacement, reset the power window control unit Testing and Inspection.