lemon-mirror:
Home >> Acura >> 2012 >> ZDX V6-3.7L >> Repair and Diagnosis >> Power and Ground Distribution >> Relay Box >> Testing and Inspection

Relay Box: Testing and Inspection




Relay Circuit Board Test

The relay circuit board is part of the under-hood fuse/relay box, and it contains these relays:

- Radiator fan relay
- Fan control relay
- Horn relay
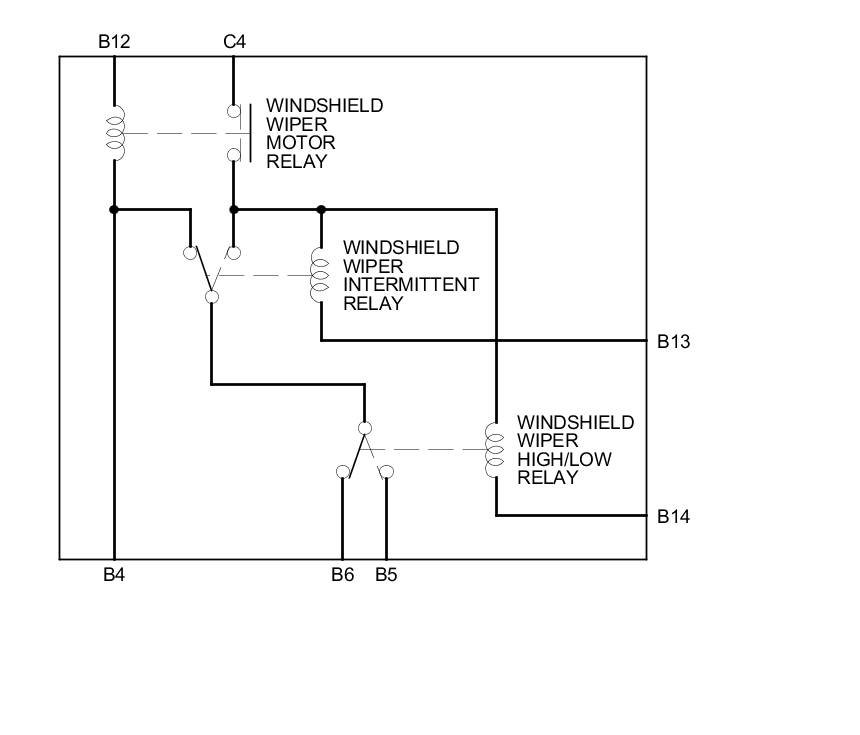
- Windshield wiper motor relay
- Windshield wiper intermittent relay
- Windshield wiper high/low relay

1. Do the battery terminal disconnection procedure Procedures.

2. Disconnect under-hood fuse/relay box connectors B (14P) and C (5P).










3. Test each relay circuit as shown:

Radiator fan relay:

There should be continuity between terminals C1 and C3 when battery power is connected to terminal B9, and body ground is connected to terminal B10. There should be no continuity between terminals C1 and C3 when power is disconnected.

Fan control relay:

There should be continuity between terminals C2 and C5 when battery power is connected to terminal B1(, B2, or B8), and body ground is connected to terminal B10. There should be no continuity between terminals C2 and C5 when power is disconnected.

Horn relay:

There should be battery voltage at terminal B11 when battery power is connected to terminal B3, and body ground is connected to terminal B7. There should be no voltage at terminal B11 when power is disconnected.

Windshield wiper motor relay:

There should be continuity between terminals C4 and B13, and terminals C4 and B14 when battery power is connected to terminal B12, and body ground is connected to terminal B4. There should be no continuity between terminals C4 and B13, and terminals C4 and B14 when power is disconnected.

Windshield wiper intermittent relay:

There should be battery voltage at terminal B6 when battery power is connected to terminals C4 and B12, and body ground is connected to terminals B4 and B13. There should be no voltage at terminal B6 when terminal B13 is disconnected.

Windshield wiper high/low relay:

There should be battery voltage at terminal B5 when battery power is connected to terminals C4 and B12, and body ground is connected to terminals B4 and B14. There should be no voltage at terminal B5 when terminal B14 is disconnected.

Radiator fan relay, Fan control relay





Horn relay





Windshield wiper motor relay, Windshield wiper intermittent relay, Windshield wiper high/low relay





4. If any of these relay circuit fails the test, replace the relay circuit board Under-Hood Fuse/Relay Box Removal and Installation.

5. Reinstall all removed parts.

6. Do the battery terminal reconnection procedure.