lemon-mirror:
Home >> Acura >> 2012 >> ZDX V6-3.7L >> Repair and Diagnosis >> Body and Frame >> Locks >> Keyless Entry >> Service and Repair >> Keyless Buzzer Replacement

Keyless Buzzer Replacement




Keyless Buzzer Replacement

1. Remove the taillights. Taillight Replacement

2. Remove the rear bumper Service and Repair.

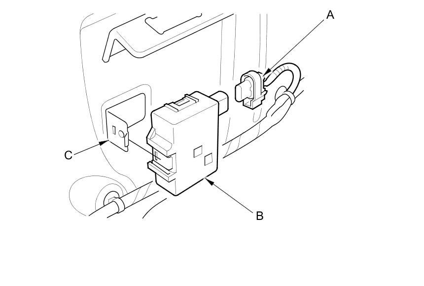
3. Disconnect the 2P connector (A) from the keyless buzzer (B).





4. Remove the buzzer from the bracket (C).

5. Install the buzzer in the reverse order of removal.