lemon-mirror:
Home >> Acura >> 2012 >> RL V6-3.7L >> Repair and Diagnosis >> Specifications >> Mechanical Specifications >> Engine >> Cylinder Block Assembly >> Connecting Rod, Engine

Connecting Rod, Engine






Connecting rod

Connecting rod





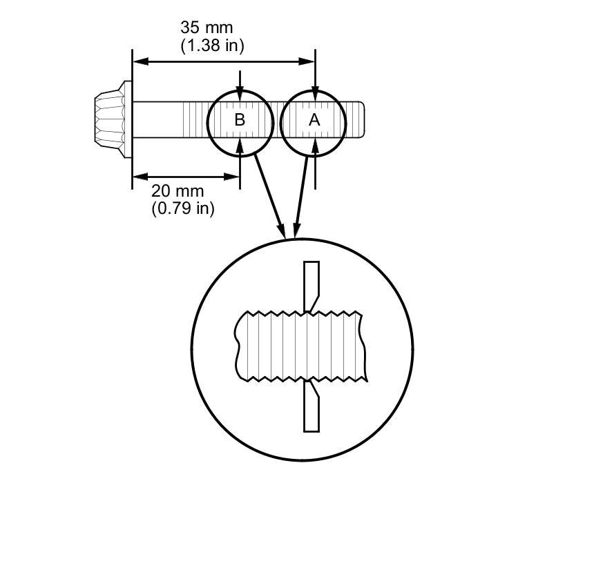
Connecting Rod Bolts

Inspection

Measure the diameter of each connecting rod bolt at point A and point B.





Calculate the difference in diameter between point A and point B.

Point A - Point B = Difference in Diameter





If the difference in diameter is out of specification, replace the connecting rod bolt.

Tightening Specifications
First pass 20 Nm (2.0 kg-m, 14 lb-ft)
Final pass Tighten 90°