lemon-mirror:
Home >> Acura >> 2012 >> RL V6-3.7L >> Repair and Diagnosis >> Maintenance >> Fluids >> Coolant >> Testing and Inspection

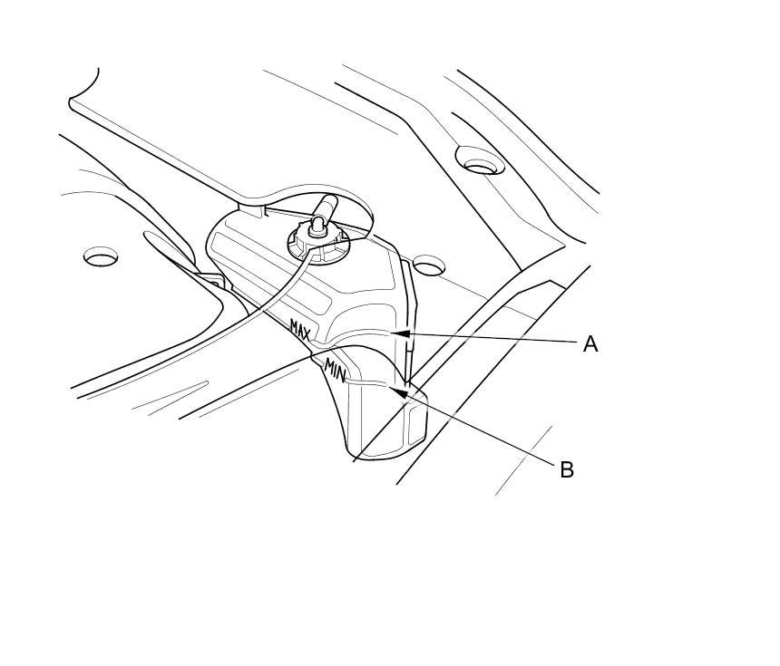
Coolant: Testing and Inspection




Coolant Check

1. Check the coolant level in the coolant reservoir. Make sure it is between the MAX mark (A) and MIN mark (B).





2. If the coolant level in the coolant reservoir is at or below the MIN mark, add coolant to bring it between the MIN and MAX marks, then inspect the cooling system for leaks.

3. Check the coolant level in the radiator, and add Honda Long Life Antifreeze/Coolant Type 2 into the radiator up to the base of the filler neck, if needed.

NOTE:

- Always use Honda Long Life Antifreeze/Coolant Type 2. Using a non-Honda coolant can result in corrosion, causing the cooling system to malfunction or fail.
- Honda Long Life Antifreeze/Coolant Type 2 is a mixture of 50 % antifreeze and 50 % water. Do not add water.