lemon-mirror:
Home >> Acura >> 2012 >> RL V6-3.7L >> Repair and Diagnosis >> Body and Frame >> Specifications >> Body Specifications/Wheel Alignment

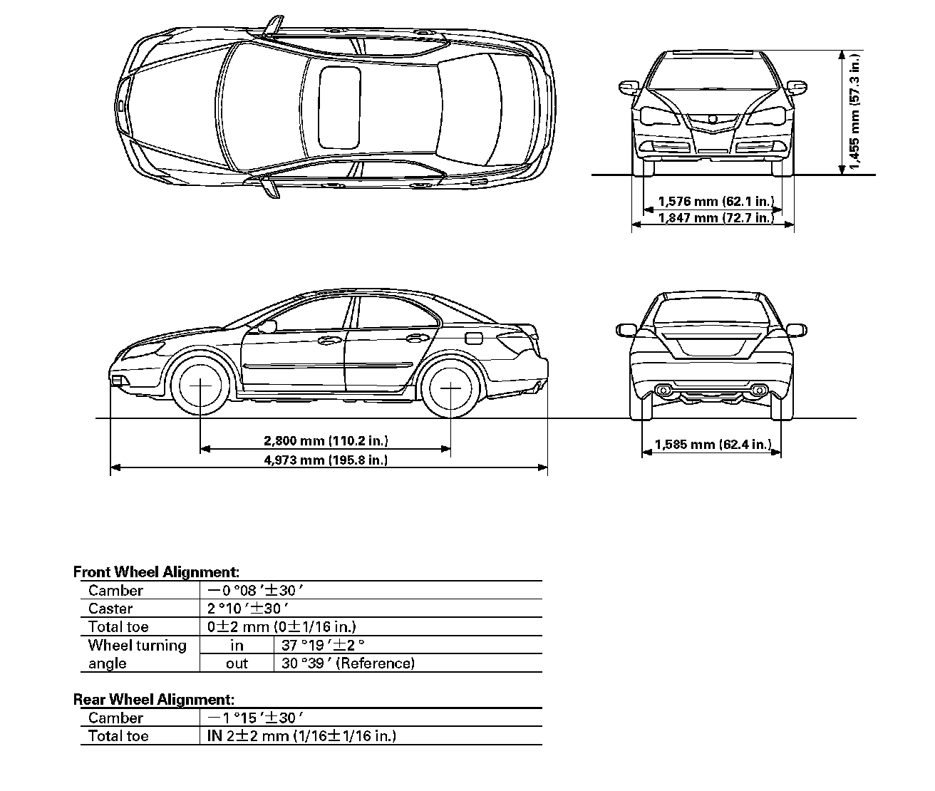
Body Specifications/Wheel Alignment