lemon-mirror:
Home >> Acura >> 2012 >> MDX V6-3.7L >> Repair and Diagnosis >> Specifications >> Mechanical Specifications >> Engine >> Cylinder Block Assembly >> Connecting Rod, Engine

Connecting Rod, Engine






Connecting rod





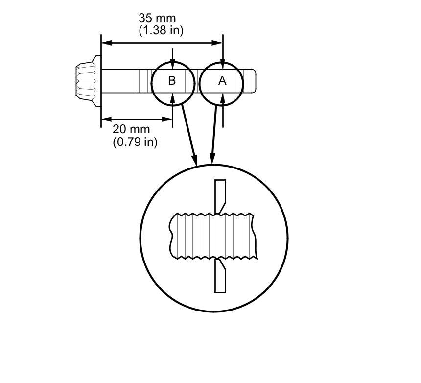
Connecting Rod Bolts

Inspection
Measure the diameter of each connecting rod bolt at point A and point B.





Calculate the difference in diameter between point A and point B.





Difference in Diameter





If the difference in diameter is out of tolerance, replace the connecting rod bolt.

Tightening Specifications, connecting rod bolts:
Torque bolts to 20 Nm (2.0 kg-m, 14 lb-ft).
Tighten bolts an additional 90 °.