lemon-mirror:
Home >> Acura >> 2012 >> MDX V6-3.7L >> Repair and Diagnosis >> Cruise Control >> Distance Sensor >> Adjustments

Distance Sensor: Adjustments




Millimeter Wave Radar Aiming

Special Tools Required

- Alignment Set 07AAJ-STKA210
- Stand Set 07AAJ-STKA220
- Honda Diagnostic System (HDS)

NOTE: If the millimeter wave radar is removed or replaced, or if a millimeter wave radar aiming error occurs, aim the millimeter wave radar. Incomplete aiming, an aiming error, or dust or dirt on the radar surface causes the ACC indicator to come on with these DTCs:

- Millimeter wave radar aiming incomplete: DTC 107
- Millimeter wave radar aiming error: DTC 63
- Millimeter wave radar or front radar cover surface is contaminated with dust, dirt, ice, or snow: DTC 105

Incomplete aiming will also cause the MID to indicate certain temporary DTCs, refer to the DTCs (if the aiming is incomplete).

Required Materials:

- Tape measure and scale
- Felt-tip pen
- Tape

Before Aiming:

- Clean the surface of the millimeter wave radar.
- Make sure the vehicle has no aftermarket suspension.
- Make sure all the tire sizes are correct and that their pressure is correct.
- Make sure the fuel tank is full.
- Remove all baggage from the vehicle except the spare tire and the tool kit.
- Make sure the steering wheel is straight ahead, and do not turn it after setting the vehicle.
- Shift transmission lever into P, and apply the parking brake.
- Make sure the front grille and the front bumper are installed correctly.
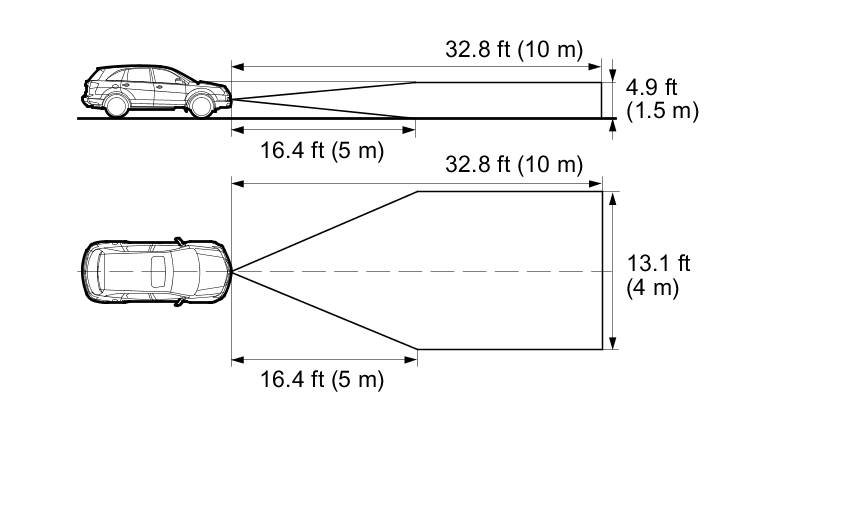
- Park the vehicle on level ground in a wide open space to avoid misadjusting caused by reflecting objects. The space needs to be 32.8 ft (10 m) in front, 13.1 ft (4 m) in width and 4.9 ft (1.5 m) in height.
- If NO TARGET is not indicated even when there are no objects for 32.8 ft (10 m) in front vehicle, check for reflecting objects in front of the vehicle.

Vertical Aiming

NOTE: When the millimeter wave radar is adjusted on ground that has more than 1 degree of horizontal slope (drainage slope), the vertical aiming cannot be adjusted correctly. Check the levelness of the ground, and adjust the angle of millimeter wave radar to be parallel to that of the ground, lay a ruler (at least 12") or other flat straight object on the ground and put the level on top to confirm the levelness of the ground.

1. Remove the front bulkhead cover Front Bulkhead Cover Replacement.

2. Put the level (A) on the aiming pad (B) of the millimeter wave radar.





3. Turn the vertical adjusting bolt (C) on the driver's side with a screwdriver, and adjust the angle of millimeter wave radar so that the air bubble in the level is centered.

Horizontal Aiming

1. Park the vehicle on level ground with at least this much open space around it: 32.8 ft (10 m) in front, 13.1 ft (4 m) in width, and 4.9 ft (1.5 m) in height.





2. Make sure there are no reflecting objects or anything in this range.

3. Check the tire pressures, and adjust the pressures to the specified value if needed.

4. Put a person or an object equivalent to the driver's weight in the driver's seat.

Setting the Distance between the Target and the Vehicle

NOTE: When marking the floor, use suitable tape to mark the exact locations.

5. Adjust the tip of the height rod (A) on the target to the center of the front radar cover (B).










6. Rear area of the vehicle: Place the centering stand under the rear jack point, then mark the floor at the centerline of the tool.






7. Rear area of the vehicle: Position the gas strut holder between the rear jack point and the mark on the floor.






8. Front area of the vehicle: Place the centering stand under the front jack point.






9. With the target and the height rod aligned with the cord, move the target out in front of the vehicle until the cord is fully extended 16.5 ft (5 m) from the front of the front bumper. Position the cord at the centerline (A) of the centering stand.






10. Connect the HDS to the data link connector (DLC) (A).






11. Turn the ignition switch to ON (II).

12. Check for DTCs with the HDS.

NOTE: If DTC 61 or DTC 62 is indicated, troubleshoot the indicated DTC first.

13. Start the engine.

14. Press the MAIN switch (A) ON.






15. Select ADAPTIVE CRUISE CONTROL (ACC) from MAIN menu. Select RADAR AIMING from ADJUSTMENT menu, the MID will indicate the number 4 on its display for 2 seconds then display NO TARGET.






16. Make sure the MID indicates NO TARGET on its display.

NOTE: When the radar is aimed correctly the MID indicates NO TARGET. If this is not indicated there is an unwanted radar reflection in front of the vehicle in the range of the radar.






17. Confirm the result of the horizontal auto aiming following the on-screen instructions of the HDS.

NOTE: The result of all auto aiming can be confirmed by the HDS, or by watching the MID. When watching the MID, if the auto aiming is confirmed, the MID will display "RADAR OK" with the specification of 100±2, and the brake lights will illuminate. When the target is out of auto range, the MID will display "NO TARGET", the brakes will not illuminate, and an audible tone will sound. The auto aiming is not complete. If DTC 120, 121, 122, 123, or 124 is indicated, the aiming target is not set correctly. Inspect the millimeter wave radar mounting for bent or damaged parts. Verify the vertical aiming. Reset the aiming target.





18. After adjustment, confirm the MID display and that the brake lights illuminate, and finalize the horizontal aiming (end the aiming process on the HDS).

19. After aiming, clear the DTCs with the HDS.

DTCs (if the aiming is incomplete)