lemon-mirror:
Home >> Acura >> 2011 >> TSX Sedan L4-2.4L >> Repair and Diagnosis >> Heating and Air Conditioning >> Control Assembly >> Service and Repair >> Climate Control Unit Removal/Installation

Climate Control Unit Removal/Installation




Climate Control Unit Removal/Installation

1. Remove the passenger's dashboard trim Passenger's Dashboard Trim Removal/Installation.

2. Remove the center console panel Center Console Panel Removal/Installation.

3. Remove the driver's center trim and passenger's center trim Dashboard Center Trim Removal/Installation.

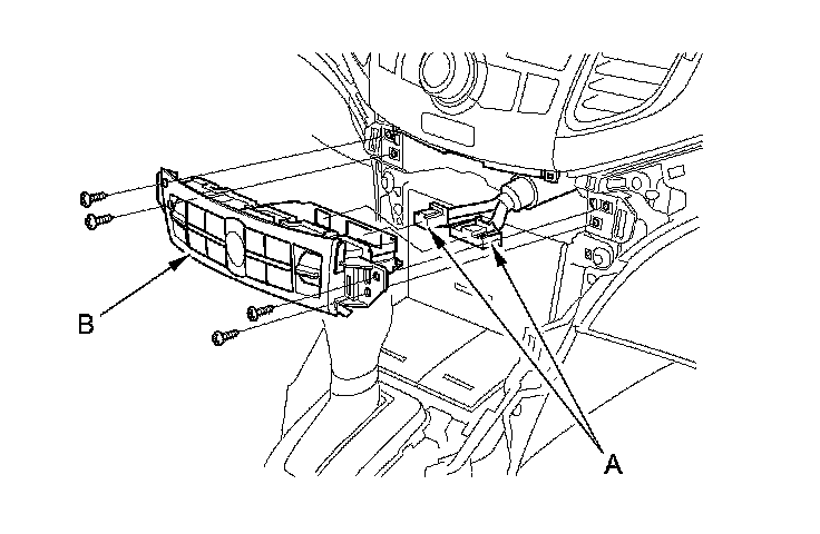
4. Remove the self-tapping screws. Disconnect the connectors (A), then remove the climate control unit (B).






5. If necessary, replace the bulbs (A).





6. Install the climate control unit in the reverse order of removal. After installation, operate the various functions to make sure they work properly.

7. Run the Self-Diagnostic Function to confirm that there are no problems in the system.