lemon-mirror:
Home >> Acura >> 2011 >> RL V6-3.7L >> Repair and Diagnosis >> Maintenance >> Brake Bleeding >> Service and Repair

Brake Bleeding: Service and Repair




Brake System Bleeding

NOTICE
Do not spill brake fluid on the vehicle; it may damage the paint. If brake fluid gets on the paint, wash it off immediately with water.

NOTE:

- Do not reuse the drained fluid. Use only new Acura DOT 3 Brake Fluid from an unopened container. Using a non-Acura brake fluid can cause corrosion and shorten the life of the system.
- Make sure no dirt or other foreign matter gets in the brake fluid.
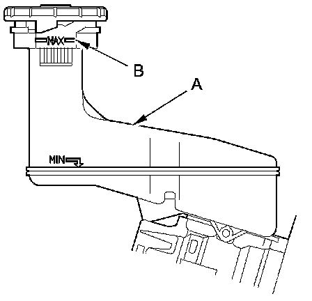
- The reservoir connected to the master cylinder must be at the MAX (upper) level mark at the start of the bleeding procedure, and checked after bleeding each wheel location. Add fluid as required.

1. Make sure the brake fluid level in the reservoir (A) is at the MAX (upper) level line (B).





2. Have someone slowly pump the brake pedal several times, then apply steady pressure.

3. Start the bleeding at the driver's side of the front brake system.

NOTE: Bleed the calipers in the sequence shown.






4. Attach a length of clear drain tube (A) to the bleed screw (B), then loosen the bleed screw to allow air to escape from the system. Then tighten the bleed screw securely.

Front





Rear





5. Refill the master cylinder reservoir to the MAX (upper) level line.

6. Repeat the procedure for each brake circuit until there are no air bubbles in the fluid.