lemon-mirror:
Home >> Acura >> 2010 >> ZDX V6-3.7L >> Repair and Diagnosis >> Powertrain Management >> Computers and Control Systems >> Transmission Position Sensor/Switch >> Service and Repair

Transmission Position Sensor/Switch: Service and Repair




Transmission Range Switch Replacement

1. Do the battery removal procedure Removal and Replacement.

2. Remove the air cleaner Service and Repair.

3. Remove the intake air duct Automatic Transmission Removal.

4. Remove the battery heat shield Automatic Transmission Removal.

5. Remove the auxiliary under-hood fuse/relay box Automatic Transmission Removal.

6. Remove the battery base Automatic Transmission Removal.

7. Disconnect the transmission range switch connector.

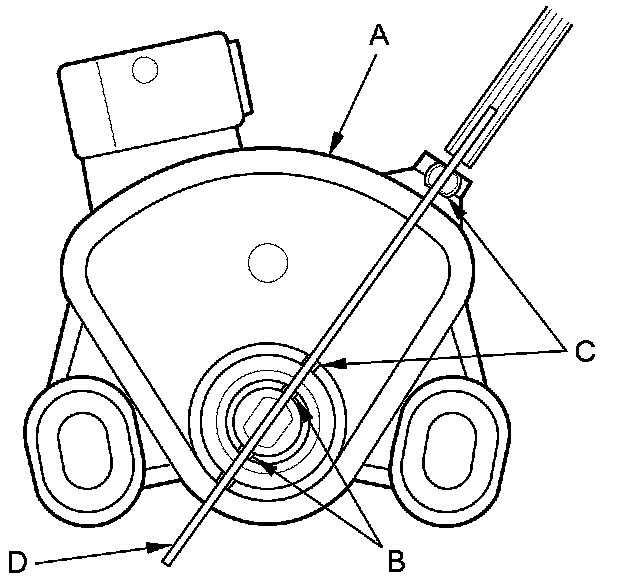
8. Remove the spring clip (A) and the control pin (B), then separate the shift cable end (C) from the control lever (D).





9. Check the bushing (E) in the shift cable end for a proper fit and wear. If the bushing is loose or worn, replace the shift cable Service and Repair.

10. Remove the nuts (A) securing the shift cable bracket (B).






11. Remove the transmission range switch.






12. Turn the control lever fully counterclockwise to the P position. Turn the control lever back two click-stopped positions so that the selector control shaft is in the N position.






13. Set a new transmission range switch (A) to the N position. Align the cutouts (B) on the rotary-frame with the neutral positioning cutouts (C) on the transmission range switch, then put a 2.0 mm (0.079 in) feeler gauge blade (D) in the cutouts to hold the transmission range switch in the N position.

NOTE: Be sure to use a 2.0 mm (0.079 in) feeler gauge blade or equivalent to hold the transmission range switch in the N position.






14. Install the transmission range switch (A) gently on the selector control shaft (B) while holding it in the N position with the 2.0 mm (0.079 in) blade (C).






15. Tighten the bolts on the transmission range switch while you continue to hold the N position. Do not move the transmission range switch when tightening the bolts. Then remove the feeler gauge.






16. Check the connectors for rust, dirt, or oil, and clean or repair if necessary, then connect the connector securely.

17. Install the shift cable bracket (A).






18. Apply molybdenum grease to the hole in the bushing (A) in the shift cable end (B).





19. Attach the shift cable end to the control lever (C), then insert the control pin (D) into the control lever hole through the shift cable end, and secure the control pin with the spring clip (E).

20. Install the battery base Automatic Transmission Installation.

21. Install the auxiliary under-hood fuse/relay box Automatic Transmission Installation.

22. Install the battery heat shield Automatic Transmission Installation.

23. Install the intake air duct Automatic Transmission Installation.

24. Install the air cleaner Service and Repair.

25. Do the battery installation procedure Removal and Replacement.

26. Turn the ignition switch to ON (II), or press the engine start/stop button to select the ON mode. Move the shift lever through all positions, and verify the transmission range switch matches with the A/T gear position indicator.

27. Check that the engine starts in P and N, and does not start in any other shift lever position.

28. Check that the back-up lights come on when the shift lever is in R.

29. Raise the vehicle on a lift, make sure it is securely supported, and allow all four wheels to rotate freely. Then start the engine, and check the shift lever operation.