lemon-mirror:
Home >> Acura >> 2010 >> ZDX V6-3.7L >> Repair and Diagnosis >> Cruise Control >> Cruise Control Module >> Service and Repair

Cruise Control Module: Service and Repair




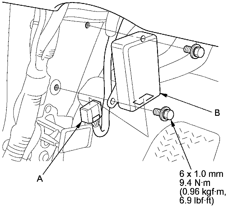
Adaptive Cruise Control (ACC) Unit Removal/Installation

1. Remove the driver's side kick panel Service and Repair.

2. Disconnect the 20P connector (A) from the ACC unit (B), then remove the ACC unit.






3. Install the ACC unit in the reverse order of removal.

NOTE: If a new ACC unit, follow these item:

- Do the ACC unit update Testing and Inspection.
- Do the CMBS initial check (DTC100) 100.