lemon-mirror:
Home >> Acura >> 2010 >> TSX V6-3.5L >> Parts and Labor >> Powertrain Management >> Emission Control Systems >> Images

Images

Converter:



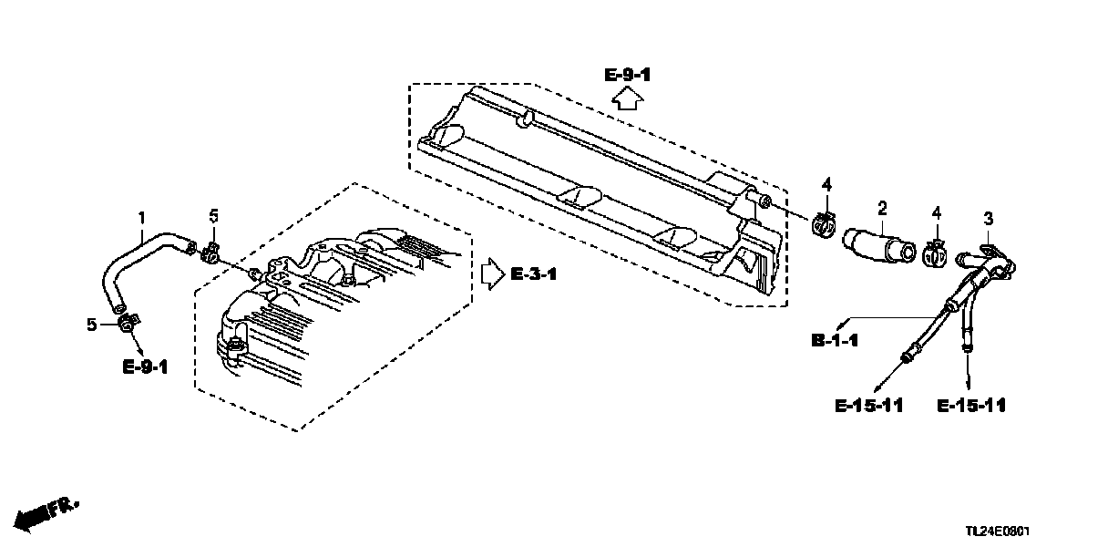
Engine Compartment Tubing:



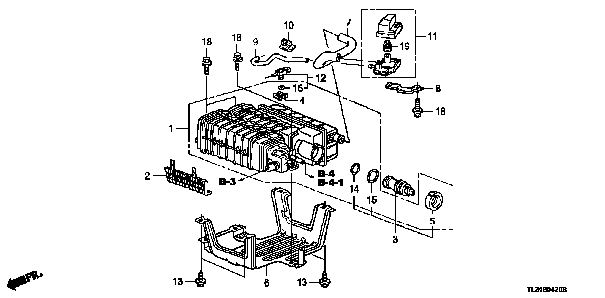
Canister Tubing:



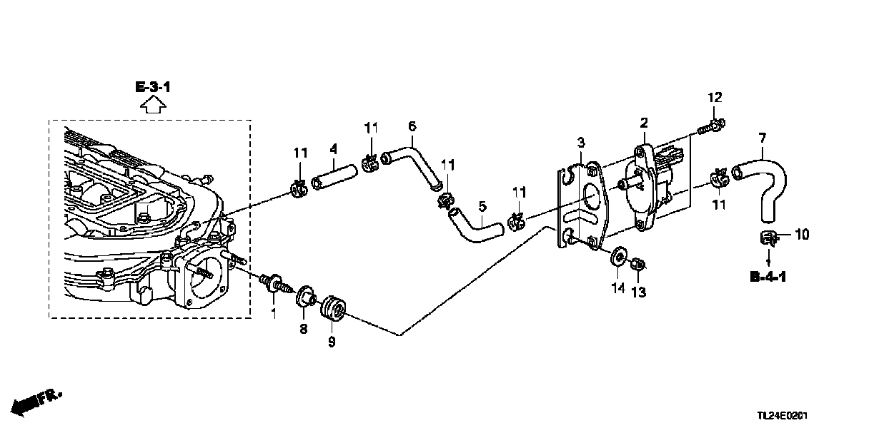
Breather Tube: