lemon-mirror:
Home >> Acura >> 2010 >> TL FWD V6-3.5L >> Repair and Diagnosis >> Specifications >> Mechanical Specifications >> Engine >> Intake Manifold

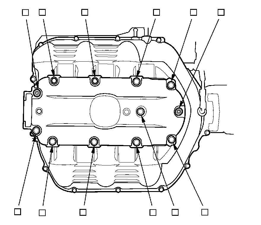
Intake Manifold

Intake manifold








Tighten the mounting bolts and nuts sequentially in three steps

Injector base





Tighten the injector base mounting bolts/nuts (D) in a crisscross pattern in three steps, beginning with the inner nuts

Upper cover








Tighten the mounting bolts and nuts sequentially in three steps