lemon-mirror:
Home >> Acura >> 2010 >> RL V6-3.7L >> Repair and Diagnosis >> Specifications >> Mechanical Specifications >> Body Specifications

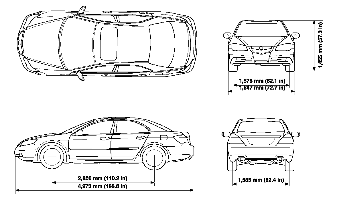
Body Specifications




Body Specifications