lemon-mirror:
Home >> Acura >> 2010 >> RL V6-3.7L >> Repair and Diagnosis >> Maintenance >> Fluids >> Engine Oil >> Service and Repair

Engine Oil: Service and Repair




Engine Oil Replacement

1. Warm up the engine.

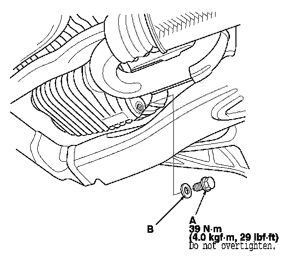
2. Remove the drain bolt (A), and drain the engine oil.

3. Reinstall the drain bolt with a new washer (B).






4. Refill with the recommended oil. Specifications

Capacity
At Oil Change:
4.0 L (4.2 US qt)
At Oil Change Including Filter:
4.3 L (4.5 US qt)
After Engine Overhaul:
5.0 L (5.3 US qt)

5. Connect the Honda Diagnostic System (HDS) to the data link connector (DLC). Reading and Clearing Diagnostic Trouble Codes

6. Turn the ignition switch to ON (II).

7. Select the BODY ELECTRICAL with the HDS.

8. Select the ADJUSTMENT in GAUGE MENU with the HDS.

9. Select the RESET in the MAINTENANCE MINDER with the HDS.

10. Select the RESETTING THE ENGINE OIL LIFE with the HDS.

11. Run the engine for more than 3 minutes, then check the oil level and check for oil leakage.