lemon-mirror:
Home >> Acura >> 2010 >> RL V6-3.7L >> Repair and Diagnosis >> Body and Frame >> Frame >> Subframe >> Service and Repair

Subframe: Service and Repair




Subframe Replacement

Special Tools Required

- Subframe alignment pin 070AG-SJAA10S

Front Subframe Torque

After removing the subframe mounting bolts and front suspension subframe rear bracket mounting bolts, be sure to replace them with new ones.






Front Subframe Alignment

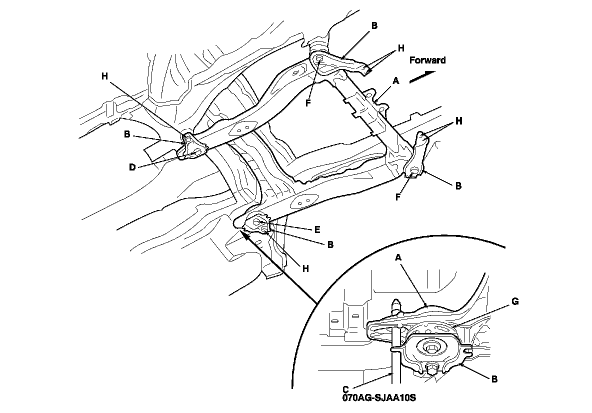
NOTE: Using the special tool, align the suspension subframe using the following sequence.

1. Align the front suspension subframe (A).
-1 Lift the front suspension subframe up to the body, and loosely install new subframe mounting bolts and the brackets (B).
Insert the alignment pin (C) into the alignment hole in the right rear of the subframe, then align the subframe with the body.
-3 Loosely tighten the subframe mounting bolt (D) at the right rear.
Insert the alignment pin into the positioning hole in the left rear of the subframe, and then align the subframe with the body.
-5 Loosely tighten the subframe mounting bolt (E) at the left rear.
Loosely tighten both front subframe mounting bolts (F).
-7 Insert the alignment pin into the positioning hole in the right rear of the subframe.
Loosen the subframe mounting bolt at the right rear, and fit the lower insulator (G), in the subframe, then tighten the mounting bolt to the specified torque.
-9 Tighten the remaining subframe mounting bolts and the bracket mounting bolts (H) to the specified torque.

2. After reinstalling all removed parts, check and adjust the front wheel alignment. Service and Repair






Rear Subframe Torque

After removing the subframe mounting bolts, be sure to replace them with new ones.