lemon-mirror:
Home >> Acura >> 2009 >> TSX L4-2.4L >> Repair and Diagnosis >> Specifications >> Mechanical Specifications >> Body Specifications

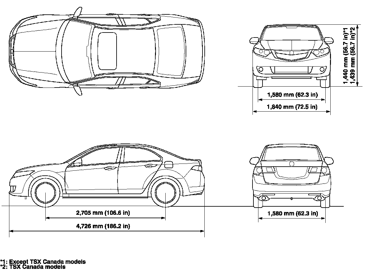
Body Specifications




Body Specifications