lemon-mirror:
Home >> Acura >> 2009 >> TL FWD V6-3.5L >> Repair and Diagnosis >> Specifications >> Mechanical Specifications >> Engine >> Intake Manifold

Intake Manifold

Intake Components

Exploded View





Injector Base

Torque 22 Nm (2.2 kgf-m, 16 ft lbs)





Tighten mounting bolts/nuts (D) in a crisscross pattern in three steps, beginning with the inner nuts.

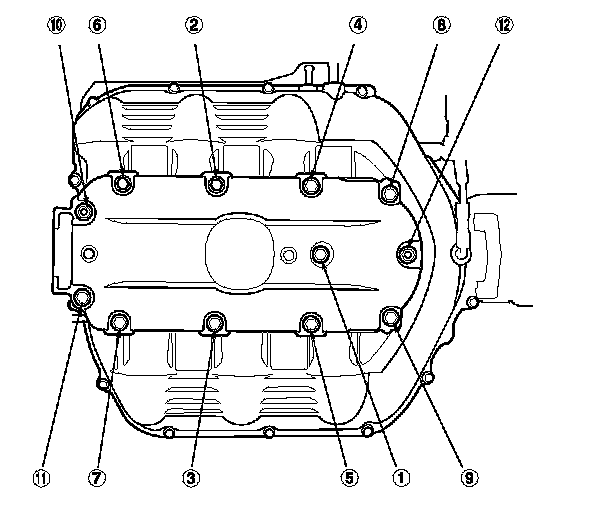
Intake manifold

Torque 22 Nm (2.2 kgf-m, 16 ft lbs)





Tighten the mounting bolts and nuts sequentially in three steps

Upper Cover

Torque 12 Nm (1.2 kgf-m, 8.7 ft lbs)





Tighten the mounting bolts and nuts sequentially in three steps

Throttle Body

Torque 22 Nm (2.2 kgf-m, 16 ft lbs)