lemon-mirror:
Home >> Acura >> 2009 >> MDX V6-3.7L >> Repair and Diagnosis >> Specifications >> Mechanical Specifications >> Engine >> Intake Manifold

Intake Manifold

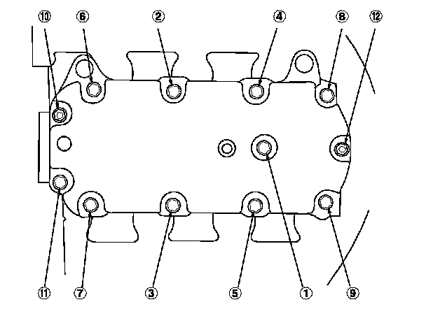
Intake manifold components

Injector Base 22 Nm (2.2 kgf-m, 16 ft lb)





Tighten the bolts/nuts in a crisscross pattern in three steps, beginning with the inner nuts

Intake Manifold








Tighten the bolts and nuts sequentially in three steps.

Upper Cover