lemon-mirror:
Home >> Acura >> 2009 >> MDX V6-3.7L >> Repair and Diagnosis >> Specifications >> Mechanical Specifications >> Engine >> Cylinder Block Assembly >> Connecting Rod, Engine

Connecting Rod, Engine




Connecting rod bearing Specifications






Connecting rod

1st 20 N-m (2.0 kgf-m, 14 ft lb)
2nd 90 °


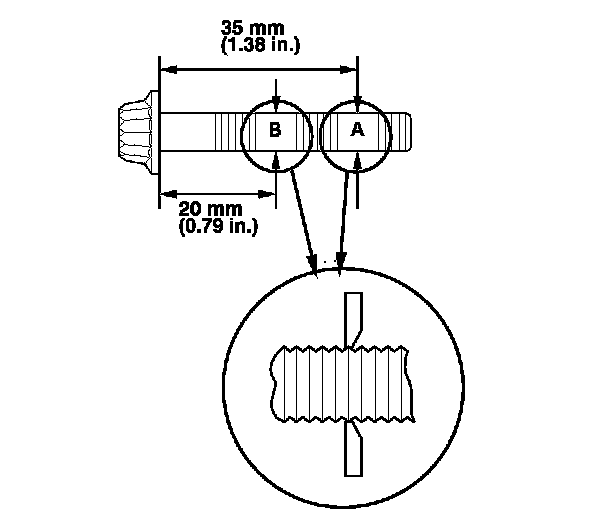
Connecting rod bolt usabillity

Point A - Point B = Difference in Diameter






Difference in Diameter





If the difference in diameter is out of tolerance, replace the connecting rod bolt.


Connecting rod bearing size codes

Connecting rod end code locations






Connecting rod journal code locations






Bearing table