lemon-mirror:
Home >> Acura >> 2009 >> MDX V6-3.7L >> Repair and Diagnosis >> Heating and Air Conditioning >> Control Assembly >> Service and Repair >> Climate Control Unit Removal/Installation

Climate Control Unit Removal/Installation




Climate Control Unit Removal/Installation

1. Remove the audio unit. Audio Unit Removal/Installation

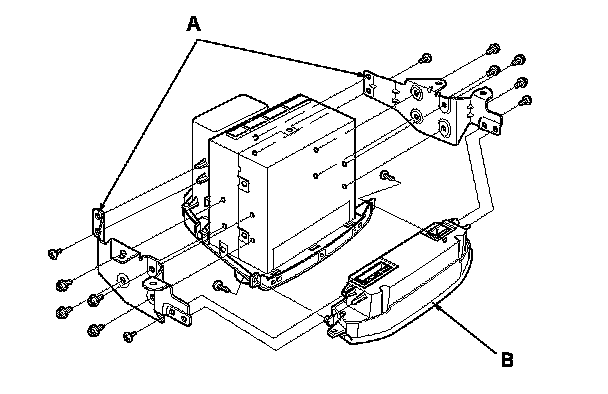
2. Remove the self-tapping screws, bolts, brackets (A), and the climate control unit (B).

3. Install the control unit in the reverse order of removal. After installation, operate the various functions to see whether works properly.

4. Run the self-diagnostic function to confirm that there are no problems in the system. Initial Inspection and Diagnostic Overview