lemon-mirror:
Home >> Acura >> 2008 >> TSX L4-2.4L >> Repair and Diagnosis >> Specifications >> Mechanical Specifications >> Body Specifications

Body Specifications

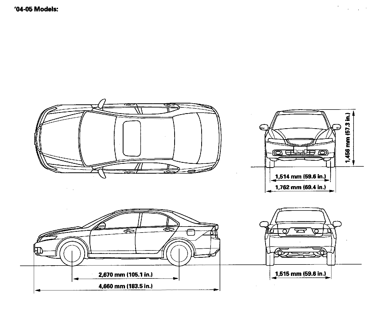
Body Specifications '04-05 Models:



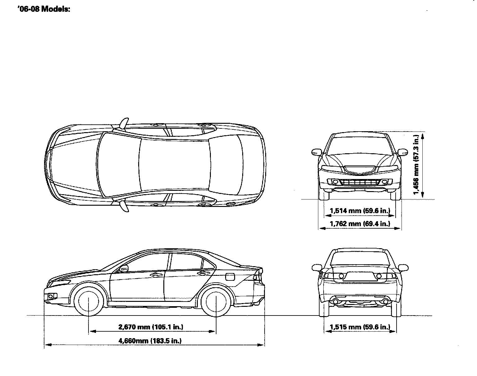
Body Specifications '06-08 Models: