lemon-mirror:
Home >> Acura >> 2008 >> TSX L4-2.4L >> Repair and Diagnosis >> Body and Frame >> Locks >> Keyless Entry >> Testing and Inspection >> Keyless Buzzer Test/Replacement

Keyless Buzzer Test/Replacement

Keyless Buzzer Test/Replacement

1. Remove the left inner fender.
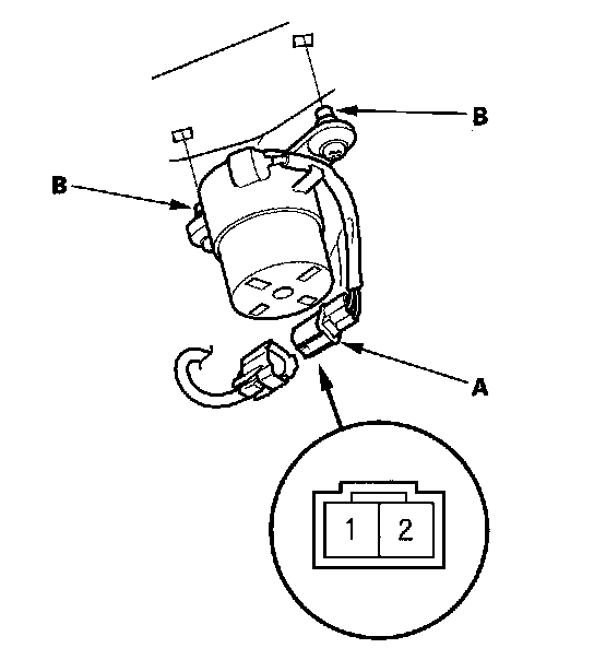
2. Disconnect the 2P connector (A) and remove the keyless buzzer by releasing the hooks (B).






3. Test the buzzer by connecting battery power to the No. 2 terminal and grounding the No. 1 terminal of the buzzer momentarily; the buzzer should sound.
4. If the buzzer does not sound, replace the keyless buzzer.